EasyManua.ls Logo

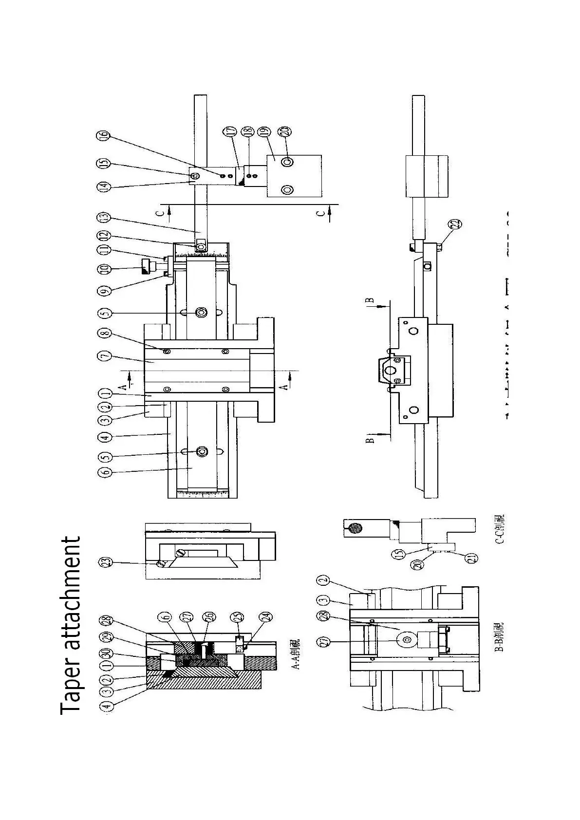
Acer DYNAMIC 2140GH - Taper Turning Attachment

Acer DYNAMIC 2140GH
80 pages
Print Icon
To Next Page IconTo Next Page
To Next Page IconTo Next Page
To Previous Page IconTo Previous Page
To Previous Page IconTo Previous Page
Loading...
TAPER TURNING ATTACHMENT
69