EasyManua.ls Logo

Acer e-mill 3VK - Lubrication System of E-Mill 3 VKH and 5 VK

Acer e-mill 3VK
203 pages
Print Icon
To Next Page IconTo Next Page
To Next Page IconTo Next Page
To Previous Page IconTo Previous Page
To Previous Page IconTo Previous Page
Loading...
- 81 -
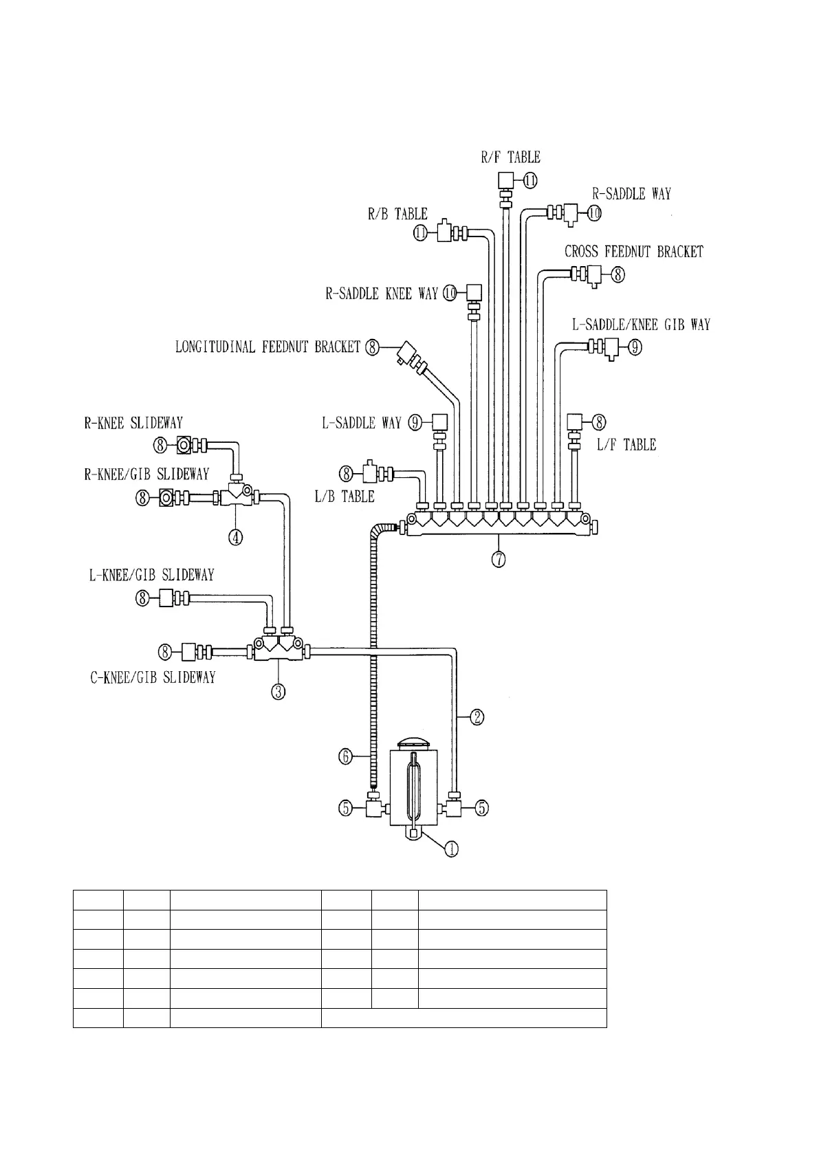
5-3 Lubrication System of e-mill 3VKH & 5VK
Item#
Part#
Description
Item#
Part#
Description
1
9001
Hand Oiler
2
9001
Aluminum Pipe (4mm)
3
9021
A4 Distributing Joint
4
9004
A3 Distributing Joint
5
9022
Elbow Joint
6
9060
Flexible Oil Tube (500mm)
7
9009
A12 Distributing Joint
8
9005
Oil Check Valve-ST1
9
9008
Oil Check Valve-ST2
10
9007
Oil Check Valve-ST4
11
9010
Oil Check Valve-ST5

Table of Contents

Related product manuals