EasyManua.ls Logo

Acer e-mill 3VSII - Control Panel Overview

Acer e-mill 3VSII
203 pages
Print Icon
To Next Page IconTo Next Page
To Next Page IconTo Next Page
To Previous Page IconTo Previous Page
To Previous Page IconTo Previous Page
Loading...
- 48 -
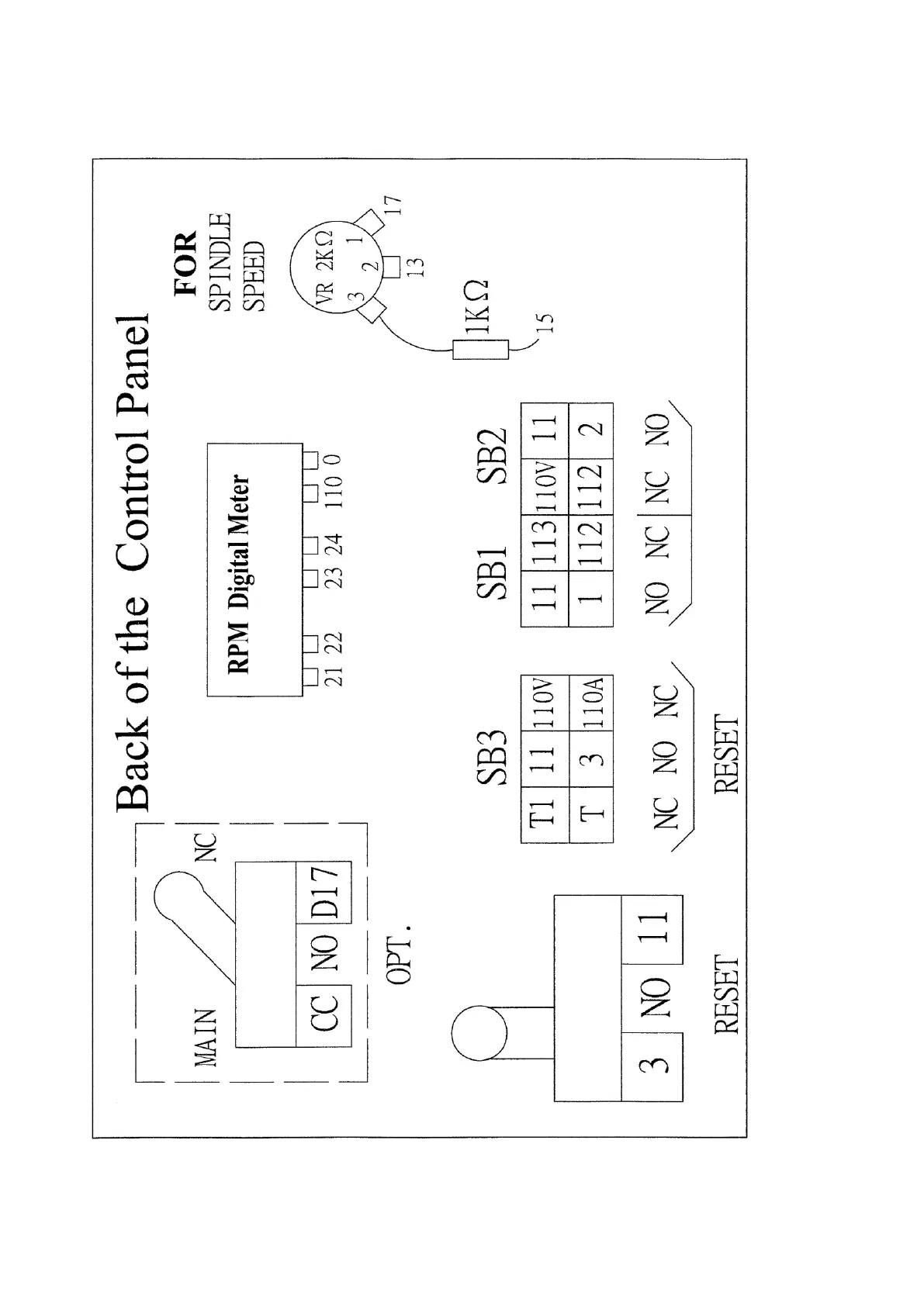
The Control Panel

Table of Contents

Related product manuals