EasyManua.ls Logo

Adobe FRAMEMAKER 7 - Page 149

Adobe FRAMEMAKER 7
439 pages
Print Icon
To Next Page IconTo Next Page
To Next Page IconTo Next Page
To Previous Page IconTo Previous Page
To Previous Page IconTo Previous Page
Loading...
165
ADOBE FRAMEMAKER 7.0
Classroom in a Book
The column of cells has been removed from the table.
Note:
If the screen display needs redrawing, press Control+l (lowercase L).
4
Click anywhere in the last column of the table.
5
Choose Edit > Paste.
6
Select Insert Right of Current Columns and click Paste.
Third column is pasted to the right.
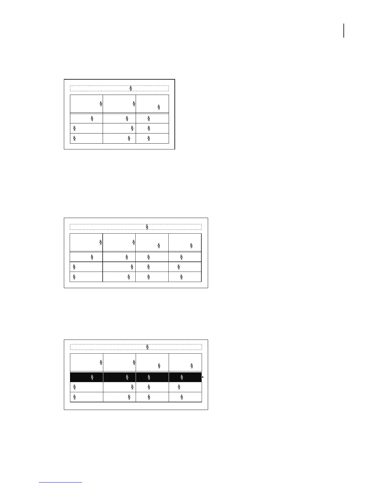
Now you’ll move the row containing art book information.
7
To select the entire Art book row, drag from the first cell in the row to the last.
8
Choose Edit > Cut.
Table 1:
Image Size Publication
Resolution
(ppi)
5 x 5 in. Art book 350
Newspaper 160
Magazine 266
Table 1:
Image Size Publication
Resolution
(ppi)
Line Screen
(lpi)
5 x 5 in. Art book 350 175
Newspaper 160 80
Magazine 266 133
Table 1:
Image Size Publication
Resolution
(ppi)
Line Screen
(lpi)
5 x 5 in. Art book 350 175
Newspaper 160 80
Magazine 266 133

Related product manuals