EasyManua.ls Logo

Advantage Engineering Maximum - Page 54

Advantage Engineering Maximum
80 pages
Print Icon
To Next Page IconTo Next Page
To Next Page IconTo Next Page
To Previous Page IconTo Previous Page
To Previous Page IconTo Previous Page
Loading...
MK Series Portable Chiller : Air-Cooled : HE INSTRUMENT
Page: 54
ADVANTAGE ENGINEERING, INC.
525 East Stop 18 Road Greenwood, Indiana 46142
317-887-0729 Fax: 317-881-1277
Service Department Fax: 317-885-8683
Email: service@AdvantageEngineering.com
B. To begin, remove the piping to the “water in” port at the
evaporator. Remove any solids that have collected at this point.
Then back flush the evaporator to remove any solids that may be
trapped between the plates (see back flush procedure below). If
there are mineral deposits adhered to the plates, the evaporator
must be back flushed with a mild acid solution (5% phosphoric or
5% oxalic acid is recommended.) After cleaning rinse with clear
water before returning to service. Continue with step C on the next
page.
C. Back flushing procedure:
1. Turn off all power to the machine. For chillers with a
reservoir tank, drain the tank to below the evaporator
outlet. For chillers without a reservoir tank, drain total unit.
2. Connect a water supply hose to the evaporator water
outlet. If acid cleaning, connect the discharge hose from
the acid pump to the evaporator outlet port.
3. Connect a hose to the evaporator water supply port and to
an appropriate containment vessel. If acid cleaning,
connect the evaporator water inlet port to an acid solution
reservoir tank. Dispose of all back flush fluid according to
local codes.
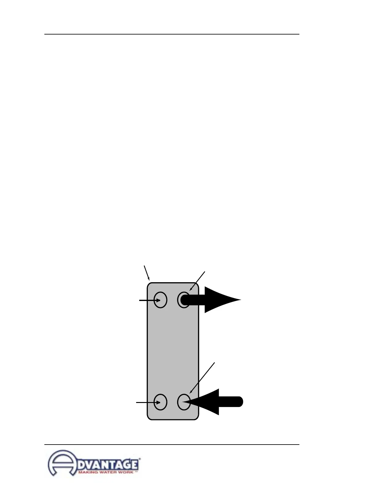
BRAZED PLATE HEAT EXCHANGER
(EVAPORATOR)
FREON OUT
FREON IN
ORIGINAL WATER OUT PORT
BACKFLUSH WATER IN PORT
(SUPPLY BACKFLUSHING WATER
FLOW TO THIS PORT)
ORIGINAL WATER IN PORT
BACKFLUSH WATER OUT PORT
(ROUTE WATER TO PROPER
SEWER OR DRAIN CONTAINER)