EasyManua.ls Logo

Advantech ADAM-6051 - Page 3

Advantech ADAM-6051
34 pages
Print Icon
To Next Page IconTo Next Page
To Next Page IconTo Next Page
To Previous Page IconTo Previous Page
To Previous Page IconTo Previous Page
Loading...
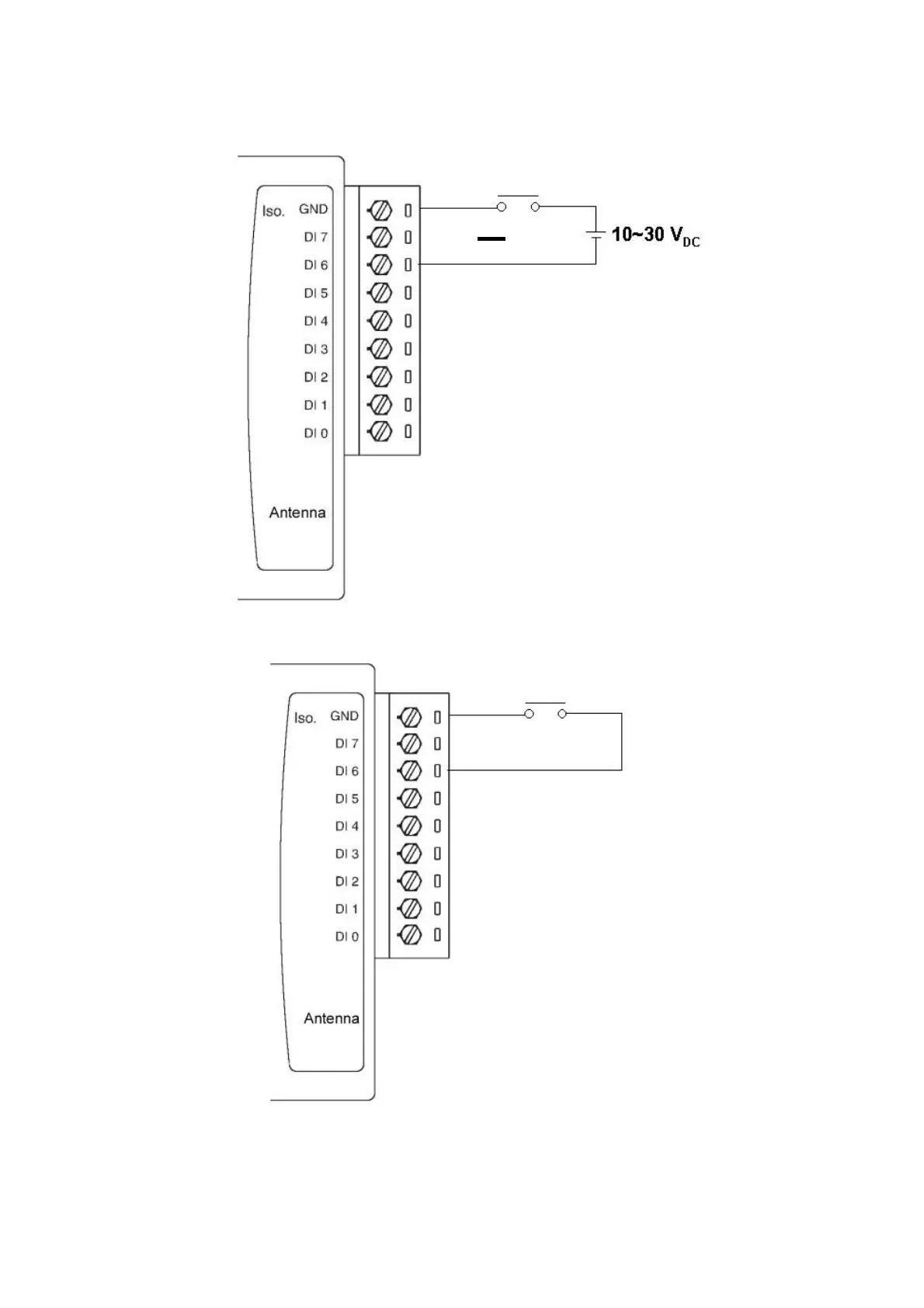
Application Wiring
Figure 2: ADAM-6051W Digital Input (Wet Contact) Wiring
Figure 3: ADAM-6051W Digital Input (Wet Contact) Wiring

Related product manuals