EasyManua.ls Logo

AEG 948904321 - Product Description

AEG 948904321
44 pages
Print Icon
To Next Page IconTo Next Page
To Next Page IconTo Next Page
To Previous Page IconTo Previous Page
To Previous Page IconTo Previous Page
Loading...
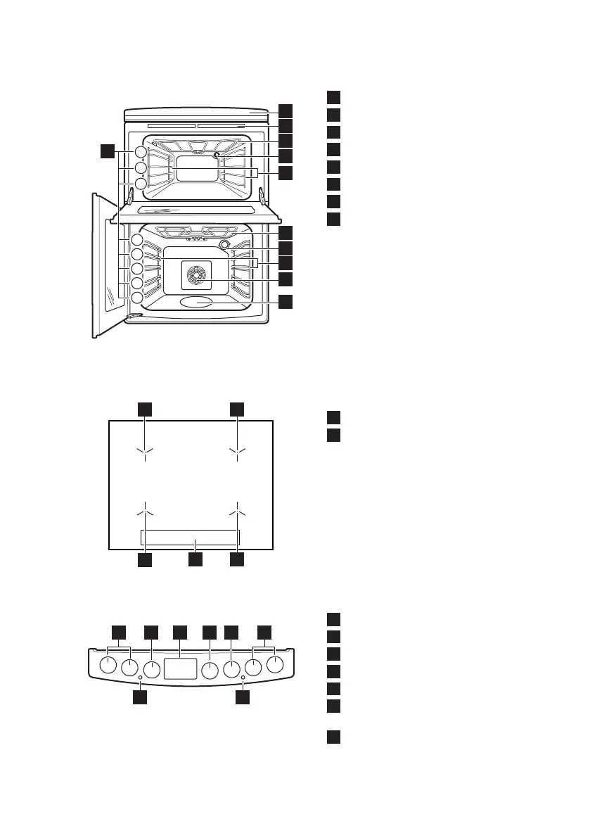
4. PRODUCT DESCRIPTION
4.1 General overview
1
2
3
3
4
5
5
6
5
4
3
2
1
8
3
2
1
4
7
1
Control panel and hob
2
Air vents for the cooling fan
3
Heating element
4
Lamp
5
Shelf support, removable
6
Fan
7
Cavity embossment
8
Shelf positions
4.2 Hob overview
1 1
1
1
2
1
Induction cooking zone
2
Control Panel
4.3 Cooker control panel
67
1 2 543 1
1
Knobs for the hob
2
Knob for the top oven functions
3
Display
4
Knob for the main oven functions
5
Knob for the main oven temperature
6
Temperature indicator / symbol for
the main oven
7
Temperature indicator / symbol for
the top oven
www.aeg.com10

Other manuals for AEG 948904321

Related product manuals