EasyManua.ls Logo

AEG COMPETENCE D5701-5 - ELECTRONIC TIMER: COUNTDOWN AND PROGRAMMING; CANCELING THE COUNTDOWN; SETTING THE OVEN TIMER CONTROL

AEG COMPETENCE D5701-5
48 pages
Print Icon
To Next Page IconTo Next Page
To Next Page IconTo Next Page
To Previous Page IconTo Previous Page
To Previous Page IconTo Previous Page
Loading...
9
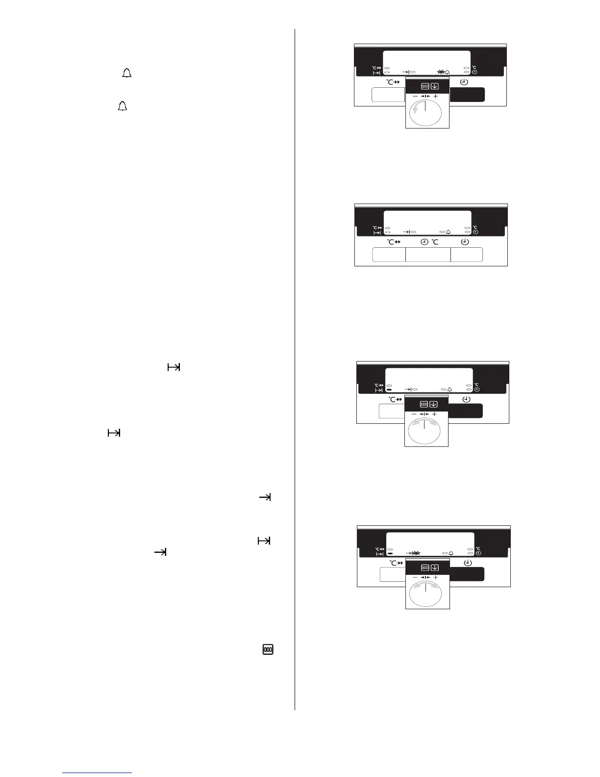
TO CANCEL THE COUNTDOWN
If you change your mind and want to cancel the
'Countdown', press the Time Selector button until the
'Countdown' ( ) indicator neon flashes and then
turn the main oven increase/decrease selector (
+/- )
until 0.00 shows in the display as Fig. 5. The
'Countdown' ( ) indicator neon will continue to flash
for a few seconds and then return to the time of day.
3. SETTING THE OVEN TIMER
CONTROL
The main oven only can be automatically timed.
When using the timer control for the very first time, it
is advisable to let it operate while you are at home.
The displays can be checked to show that it is
operating correctly and you will feel confident to
leave a meal to cook automatically in the future.
A) TO SET THE TIMER TO SWITCH ON
AND OFF AUTOMATICALLY
i) Ensure the electricity supply is switched ON and
that the correct time of day is displayed, e.g.
9.am. as Fig. 6.
ii) Set the main oven controls to the required
function and temperature.
iii) Place food in the oven.
iv) To set the length of cooking time, press the Time
Selector button until the 'Cook Time' indicator
neon is illuminated ( ). Turn the main oven
increase/decrease selector (
+/- ) until the
required length of cooking time is displayed, e.g.
2 hrs 15 mins as Fig. 7.
v) The maximum cooking time is 9.59 hours.
vi) Release the buttons. The 'Cook Time' indicator
neon ( ) will be illuminated.
Remember, this must be completed within 5
seconds of first pressing the Time Selector
button.
vi) To set the 'End Time'. Press the Time Selector
button until the 'End Time' indicator neon ( )
flashes. Turn the main oven increase/decrease
selector (
+/- ) until the required stop time is
displayed, e.g. 12.15 p.m. as Fig. 8.
vii) Release the buttons. The 'Cook Time' ( )
and 'End Time' ( ) indicator neons will be
illuminated. To return the display to the time of
day, press the Time/Temperature button.
The 'End Time' must not be more than 23 hours
59 minutes from the time of day. For example, if
the time of day is 09.00a.m., the latest 'End Time'
would be 08.59a.m. the next day.
NOTE: The Multifunction Selector neon and the
main oven Increase/Decrease Selector neon ( )
will remain illuminated during programme.
0.00
12.15
Fig.5
9.00
Fig.6
Fig.8
2.15
Fig.7

Table of Contents