EasyManua.ls Logo

AEG DVD 4552 LCD - Page 3

AEG DVD 4552 LCD
Print Icon
To Next Page IconTo Next Page
To Next Page IconTo Next Page
To Previous Page IconTo Previous Page
To Previous Page IconTo Previous Page
Loading...
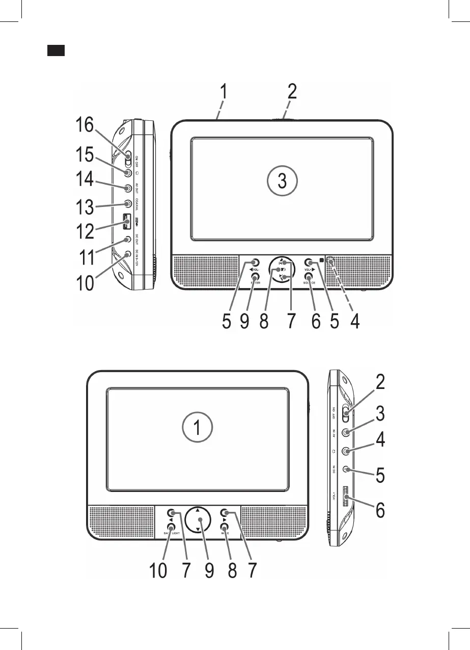
Übersicht der Bedienelemente
3
Overview of the Components
Abb./Fig. 1 (DVD Monitor)
Abb./Fig. 2 (LCD Monitor)

Related product manuals