EasyManua.ls Logo

AEG FEB52610ZM - Control Panel

AEG FEB52610ZM
24 pages
Print Icon
To Next Page IconTo Next Page
To Next Page IconTo Next Page
To Previous Page IconTo Previous Page
To Previous Page IconTo Previous Page
Loading...
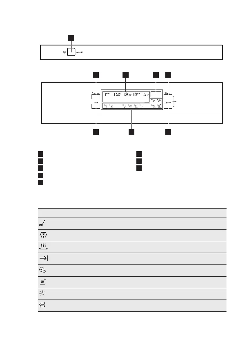
4. CONTROL PANEL
1
2 4 5
68
3
7
1
On/off button
2
Program button
3
Programme indicators
4
Display
5
Delay button
6
Option button
7
Indicators
8
Start button
4.1 Indicators
Indicator Description
Washing phase. It comes on when the washing phase operates.
Rinsing phase. It comes on when the rinsing phase operates.
Drying phase. It comes on when the drying phase operates.
End indicator.
TimeSaver indicator.
XtraDry indicator.
Rinse aid indicator. It is always off while the programme operates.
Salt indicator. It is always off while the programme operates.
ENGLISH 7

Related product manuals