EasyManua.ls Logo

AEG FEE62700PM - Bedieningspaneel

AEG FEE62700PM
Print Icon
To Next Page IconTo Next Page
To Next Page IconTo Next Page
To Previous Page IconTo Previous Page
To Previous Page IconTo Previous Page
Loading...
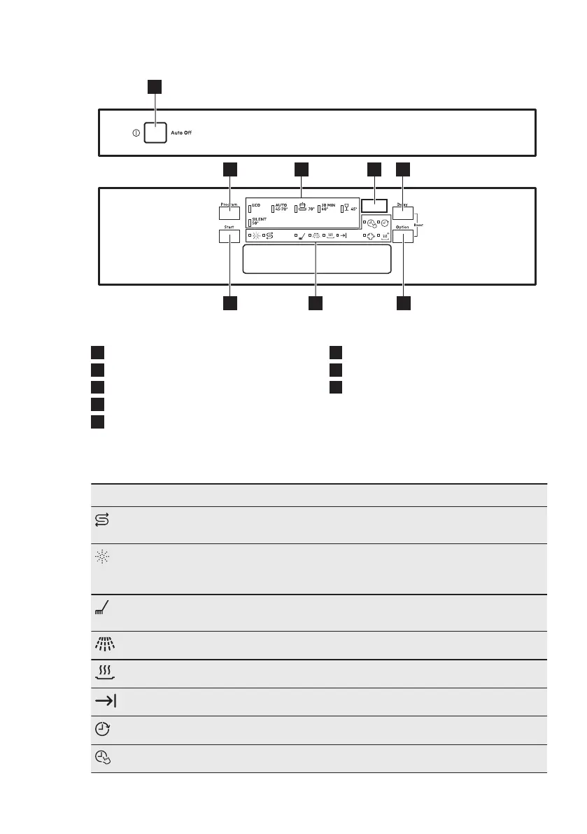
4. BEDIENINGSPANEEL
1
2 4 5
68
3
7
1
Aan/uit-toets
2
Program knop
3
Programma-indicatielampjes
4
Weergave
5
Delay knop
6
Option knop
7
Indicatielampjes
8
Start knop
4.1 Indicatielampjes
Aanduiding Beschrijving
Zoutindicatielampje. Dit is aan als het zoutreservoir bijgevuld dient te wor-
den. Dit indicatielampje is altijd uit als het programma in werking is.
Glansmiddelindicatielampje. Dit is aan als het glansmiddeldoseerbakje
bijgevuld dient te worden. Dit indicatielampje is altijd uit als het program-
ma in werking is.
Indicator van wasfase. Dit is aan wanneer de wasfase en de spoelfases in
werking zijn.
Indicator van spoelfase. Dit is aan wanneer de spoelfase loopt.
Droogfase-indicatielampje. Dit is aan wanneer de droogfase loopt.
Einde-indicatielampje. Dit is aan als het wasprogramma is afgelopen.
Delay-indicatielampje.
TimeSaver-indicatielampje.
NEDERLANDS 7

Related product manuals