EasyManua.ls Logo

AEG FEE74716PM - Before First Use

AEG FEE74716PM
28 pages
Print Icon
To Next Page IconTo Next Page
To Next Page IconTo Next Page
To Previous Page IconTo Previous Page
To Previous Page IconTo Previous Page
Loading...
performance, always use rinse aid and
keep the rinse aid indicator active.
To deactivate the rinse aid dispenser and
indicator, set the level of rinse aid to 0.
How to set the rinse aid level
Make sure the appliance is in user mode.
1. Press Start.
The indicator still
flashes.
The remaining indicators are off.
The display shows the current
setting: e.g. = level 4.
2. Press Start repeatedly to change the
setting.
3. Press the on/off button to confirm the
setting.
7.4 AirDry
AirDry improves the drying results with
less energy consumption. The appliance
door opens automatically during the
drying phase and remains ajar.
AirDry is automatically activated with all
programmes other than
(if
applicable).
The duration of the drying phase and the
door opening time vary depending on the
selected programme and options.
When AirDry opens the door, the display
shows the remaining time of the running
programme.
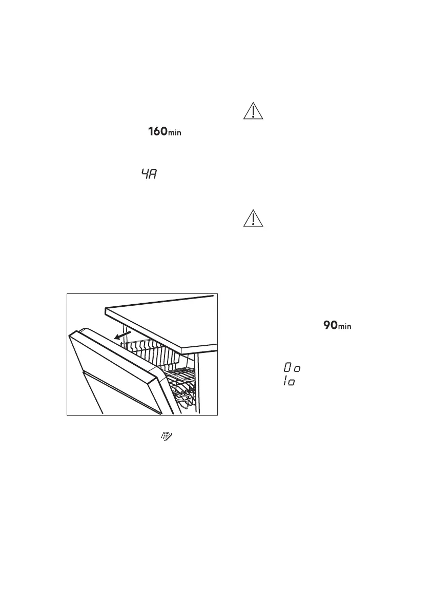
CAUTION!
Do not try to close the
appliance door within 2
minutes after automatic
opening. This can cause
damage to the appliance.
If, afterwards, the door is
closed for at least 3 minutes,
the running programme
ends.
CAUTION!
If children have access to
the appliance, we advise to
deactivate AirDry. The
automatic opening of the
door may pose a danger.
How to deactivate AirDry
Make sure the appliance is in user mode.
1. Press Delay.
The indicator still flashes.
The remaining indicators are off.
The display shows the current
setting:
= AirDry is deactivated.
= AirDry is activated.
2. Press Delay to change the setting.
3. Press the on/off button to confirm the
setting.
8. BEFORE FIRST USE
1. Make sure that the current level of
the water softener agrees with the
hardness of the water supply. If
not, adjust the level of the water
softener.
2. Fill the salt container.
3. Fill the rinse aid dispenser.
4. Open the water tap.
5. Start a programme to remove any
processing residuals that can still be
inside the appliance. Do not use
detergent and do not put dishes in
the baskets.
After starting the programme, the
appliance recharges the resin in the
water softener for up to 5 minutes. The
ENGLISH 13

Related product manuals