EasyManua.ls Logo

AEG FFE83700PM - CONTROL PANEL; Control Panel Layout; Indicator Lights Explained

AEG FFE83700PM
56 pages
Print Icon
To Next Page IconTo Next Page
To Next Page IconTo Next Page
To Previous Page IconTo Previous Page
To Previous Page IconTo Previous Page
Loading...
Otherwise, it goes off automatically after
some time to save energy.
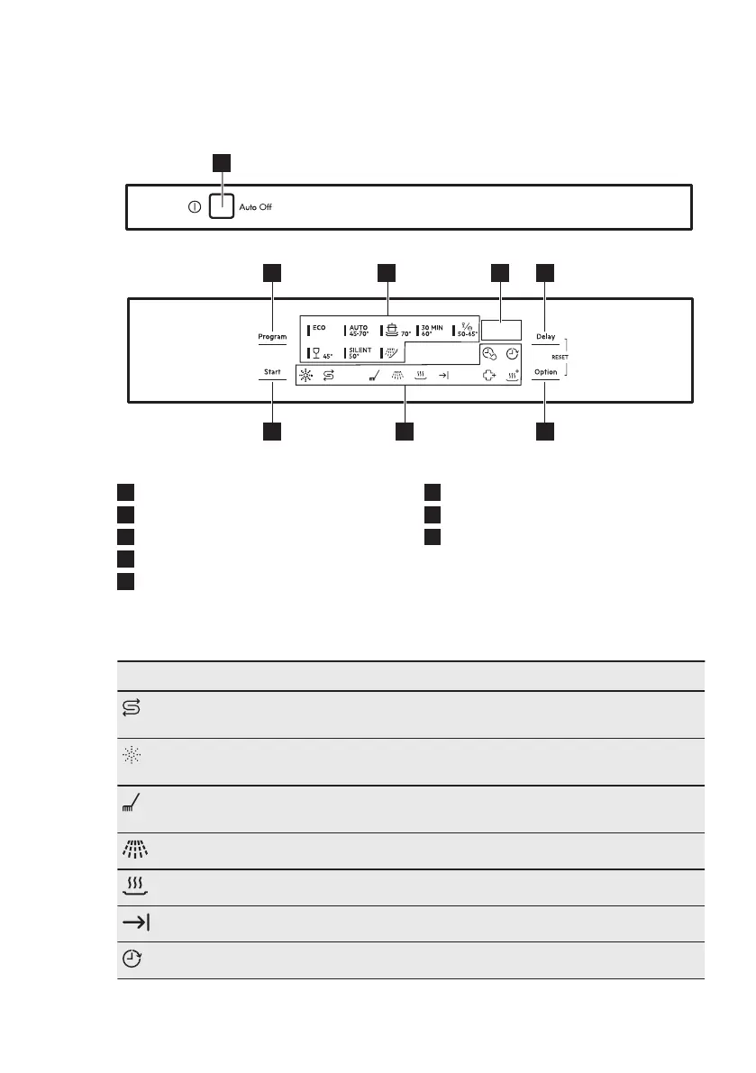
4. CONTROL PANEL
1
2 4 53
78 6
1
On/off button
2
Program touch button
3
Programme indicators
4
Display
5
Delay touch button
6
Option touch button
7
Indicators
8
Start touch button
4.1 Indicators
Indicator Description
Salt indicator. It is on when the salt container needs refilling. It is always
off while the programme operates.
Rinse aid indicator. It is on when the rinse aid dispenser needs refilling. It
is always off while the programme operates.
Washing phase indicator. It is on when the washing phase and the rinsing
phases operate.
Rinsing phase indicator. It is on when the rinsing phase operates.
Drying phase indicator. It is on when the drying phase operates.
End indicator. It is on when the programme is completed.
Delay indicator.
ENGLISH 7

Related product manuals