EasyManua.ls Logo

AEG IPE84571FB - Page 15

AEG IPE84571FB
29 pages
Print Icon
To Next Page IconTo Next Page
To Next Page IconTo Next Page
To Previous Page IconTo Previous Page
To Previous Page IconTo Previous Page
Loading...
When you switch between
the modes the heat setting
is set back to 0.
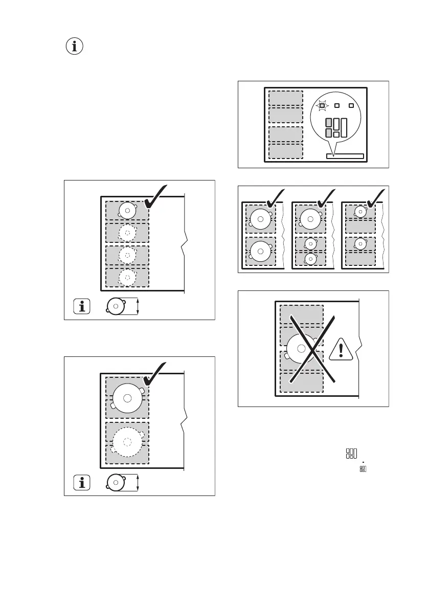
Diameter and position of the
cookware
Choose the mode applicable to the size
and the shape of the cookware. The
cookware should cover the selected area
as much as possible. Place the cookware
centrally on the selected area!
Place the cookware with the bottom
diameter smaller than 160 mm centrally
on a single section.
100-160mm
Place the cookware with the bottom
diameter larger then 160 mm centrally
between two sections.
> 160 mm
7.2 FlexiBridge Standard
mode
This mode is active when you activate
the hob. It connects the sections into two
separate cooking zones. The sides of the
zones which operate together in this
mode light up, and they are linked with
shorter illuminated lines. You can set the
heat setting for each zone separately.
Use two left side control bars.
Correct cookware position:
Incorrect cookware position:
7.3 FlexiBridge Big Bridge
mode
To activate the mode touch until you
see the correct mode indicator
. This
mode connects three rear sections into
one cooking zone. The front section is
not connected and operates as a
separate cooking zone. You can set the
heat setting for each zone separately.
www.aeg.com
14

Related product manuals