EasyManua.ls Logo

AEG L6FBG841CA - Detergent Dispenser and Compartments

AEG L6FBG841CA
56 pages
Print Icon
To Next Page IconTo Next Page
To Next Page IconTo Next Page
To Previous Page IconTo Previous Page
To Previous Page IconTo Previous Page
Loading...
In some programmes,
AutoDose is OFF (OFF is on
and the indicators
and/or are off in the
display) because there are
garments requiring special
detergents or treatments.
When OFF is on, pour the
detergent and other
treatments in the proper
manual filling compartment.
Please refer to "AutoDose
and options compatibility
with programmes" in
"Programmes" chapter.
Further explanations on
AutoDose and activation of
advanced settings are
available downloading the
APP.
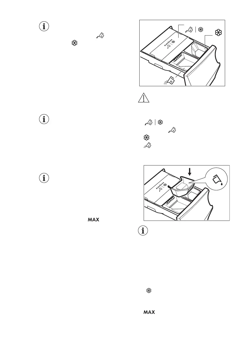
7.2 Detergent dispenser with
AutoDose tanks and manual
compartments
When using detergent and
any other treatments, always
follow the instructions that
you find on the packaging of
the detergent products.
Anyway, we recommend not
to exceed the maximum
indicated level in each
compartment ( ).
If both AutoDose tanks are enabled in
the set programme, liquid detergent and
fabric softener are automatically loaded.
If one of the AutoDose tank or both
are disabled (OFF ) in the set
programme, proceed by manually filling
the product in the proper compartment.
WARNING!
Do not put powder
detergent in the AutoDose
compartment.
AutoDose tanks for liquid
detergent and fabric softener
.
Manual compartment for washing
phase: powder or liquid detergent.
When using liquid
detergent, make sure
that the special
container for liquid
detergent is inserted.
Refer to the "Manual
filling the detergent and
additives" paragraph in
this chapter. The liquid
detergent container is
supplied inside the drum.
Manual
Manual compartment for liquid
additives (fabric softener, fabric
conditioner, starch).
Maximum level for detergent/
additives quantity.
ENGLISH
21

Table of Contents

Related product manuals