EasyManua.ls Logo

AEG L6FBG841CA - Deactivating the Autodose; Switching from Autodose to Manual Dosing; Autodose Low Level Indication

AEG L6FBG841CA
56 pages
Print Icon
To Next Page IconTo Next Page
To Next Page IconTo Next Page
To Previous Page IconTo Previous Page
To Previous Page IconTo Previous Page
Loading...
7.6 AutoDose low level
indication
Do not refill the AutoDose
tanks unless appliances
indicates that one or both
tanks are empty.
When the activated tank reaches a low
level of detergent, related indicator
blinks slowly and continuously on the
display.
It will stop blinking when the
compartment is refilled.
If tank is not refilled, once a programme
has started, the indicator will stop
blinking and stay steadily lit. Once the
programme is finished, it will start
blinking again.
Unless AutoDose is turned OFF, if a
compartment has reached low level, the
set dosage for that compartment will be
shown by the display for a few seconds
each time the drawer is opened, to
remind refill is needed.
If in both tanks detergent level is low,
both indicators blink, but only the set
dosage for detergent will be displayed.
If the tanks are filled before
the appliance is powered on
for the first time, the
AutoDose indicator will not
blink.
The tanks refill must be
carries out with the same
detergent/fabric softener
used before, otherwise clean
the tanks before refilling.
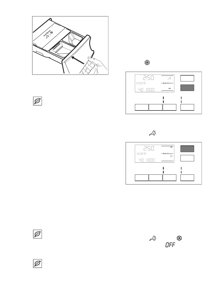
7.7 Switching from AutoDose
to manual dosing
It is possible to disable AutoDose
function for one or both tanks by
pressing related button symbol.
Example:
To switch Fabric Softener tank off,
press the button until the display
shows OFF.
If you need to use different detergent
than ones present in AutoDose tanks,
you could switch Detergent tank off
by pressing button until the
display shows OFF.
7.8 Deactivating the AutoDose
If you prefer to use the compartments for
manual filling as default choice, you can
deactivated the AutoDose tanks
completely.
Once you have entered the AutoDose
configuration mode by pressing Temp.
and the Spin buttons:
1. Tap on the button or button
until display shows
: the
AutoDose is excluded completely for
related tank or both.
www.aeg.com
24

Table of Contents

Related product manuals