EasyManua.ls Logo

AEG MC 4433 CD - Deutsch; Übersicht der Bedienelemente

AEG MC 4433 CD
Print Icon
To Next Page IconTo Next Page
To Next Page IconTo Next Page
To Previous Page IconTo Previous Page
To Previous Page IconTo Previous Page
Loading...
2
3
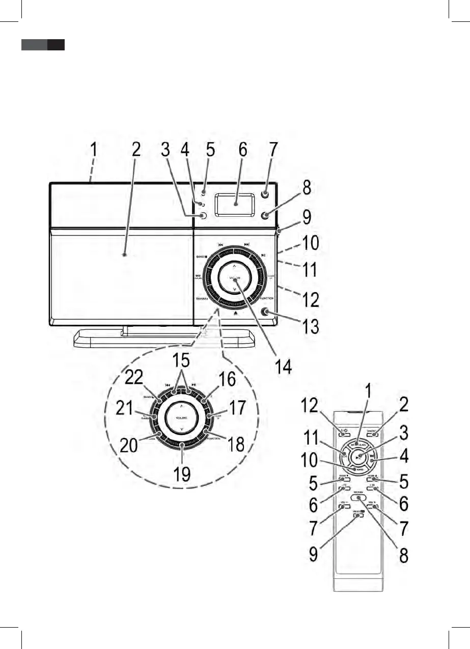
Übersicht der Bedienelemente
Locatie van bedieningselementen
Situation des commandes
Ubicación de los controles
Localização dos controlos
Posizione dei comandi
Location of Controls
Lokalizacja kontrolek
A Kezelőszervek Elhelyezkedése
Розташування органів керування

Related product manuals