EasyManua.ls Logo

AEG TP7051TW - Bedienfeld; Gerätebeschreibung

AEG TP7051TW
60 pages
Print Icon
To Next Page IconTo Next Page
To Next Page IconTo Next Page
To Previous Page IconTo Previous Page
To Previous Page IconTo Previous Page
Loading...
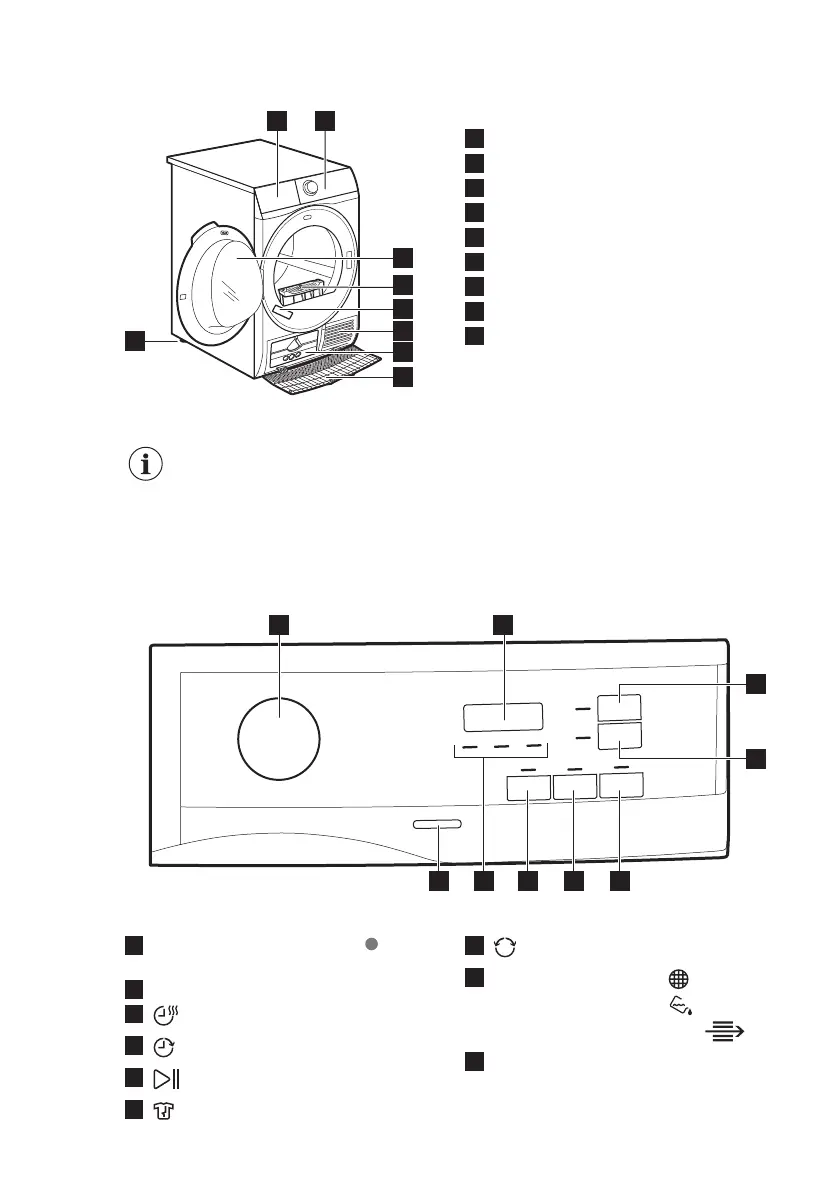
3. GERÄTEBESCHREIBUNG
1 2
5
3
4
6
7
8
9
1
Behälter
2
Bedienfeld
3
Gerätetür
4
Filter (Sieb)
5
Typenschild
6
Lüftungsschlitze
7
Deckel des Wärmetauschers
8
Abdeckung des Wärmetauschers
9
Schraubfüße
Für eine einfachere
Beladung und Montage lässt
sich der Türanschlag
wechseln. (Siehe separates
Merkblatt.)
4. BEDIENFELD
1
789 6 5
3
4
2
1
Programmwahlschalter und
RESET-Schalter
2
Display
3
Sensortaste Zeit
4
Sensortaste Zeitvorwahl
5
Sensortaste Start/Pause
6
Sensortaste Knitterschutz
7
Sensortaste Reverse Plus
8
Anzeige: Sieb reinigen ,
Wasserbehälter leeren ,
Wärmetauscher überprüfen
9
Taste Ein/Aus
www.aeg.com36

Related product manuals