EasyManua.ls Logo

AEG TP7051TW - Product Description; Control Panel

AEG TP7051TW
60 pages
Print Icon
To Next Page IconTo Next Page
To Next Page IconTo Next Page
To Previous Page IconTo Previous Page
To Previous Page IconTo Previous Page
Loading...
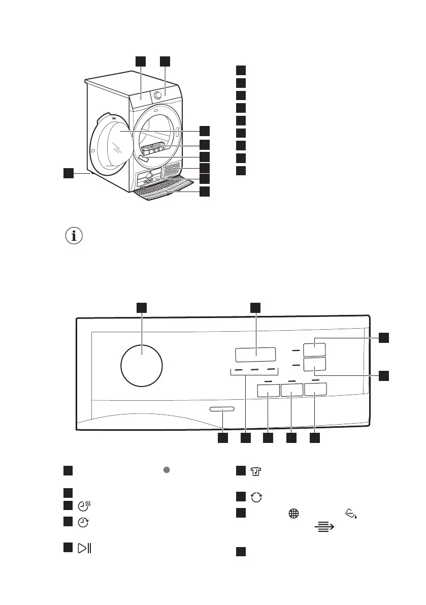
3. PRODUCT DESCRIPTION
1 2
5
3
4
6
7
8
9
1
Water container
2
Control panel
3
Appliance door
4
Filter
5
Rating plate
6
Airflow slots
7
Heat Exchanger lid
8
Heat Exchanger cover
9
Adjustable feet
For ease of loading laundry
or ease of installation the
door is reversible. (see
separate leaflet).
4. CONTROL PANEL
1
789 6 5
3
4
2
1
Programme knob and RESET
switch
2
Display
3
Zeit (Time Dry) touch button
4
Zeitvorwahl (Delay Start) touch
button
5
Start/Pause touch button
6
Knitterschutz (Extra Anticrease)
touch button
7
Reverse Plus touch button
8
Indicator: clean filter, drain
water container, check
condenser
9
On/Off button
www.aeg.com8

Related product manuals