EasyManua.ls Logo

Aerco B+03 - Page 47

Aerco B+03
50 pages
Print Icon
To Next Page IconTo Next Page
To Next Page IconTo Next Page
To Previous Page IconTo Previous Page
To Previous Page IconTo Previous Page
Loading...
1B+ II Water Wizard Water Heaters HE-110
Installation, Operation & Maintenance Manual OMM-0063_0D
11/28/2018 Page 47 of 50
AERCO International, Inc. 100 Oritani Dr. Blauvelt, New York 10913
Phone: 800-526-0288
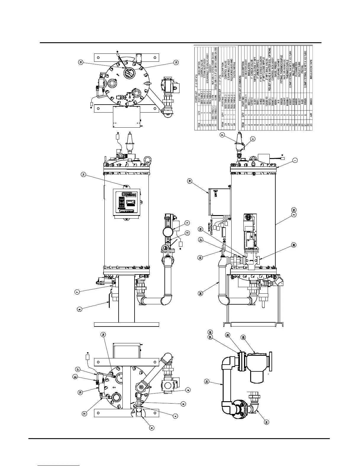
Figure 22AERCO Model SW1B+II Water Heater with ECS Assembly and Parts List

Table of Contents

Related product manuals