EasyManua.ls Logo

Aerco B+07 - Page 8

Default Icon
50 pages
Print Icon
To Next Page IconTo Next Page
To Next Page IconTo Next Page
To Previous Page IconTo Previous Page
To Previous Page IconTo Previous Page
Loading...
HE-110 1B+ II Water Wizard Water Heaters
OMM-0063_0D Installation, Operation & Maintenance Manual
Page 8 of 50 11/28/2018
AERCO International, Inc. 100 Oritani Dr. Blauvelt, New York 10913
Phone: 800-526-0288
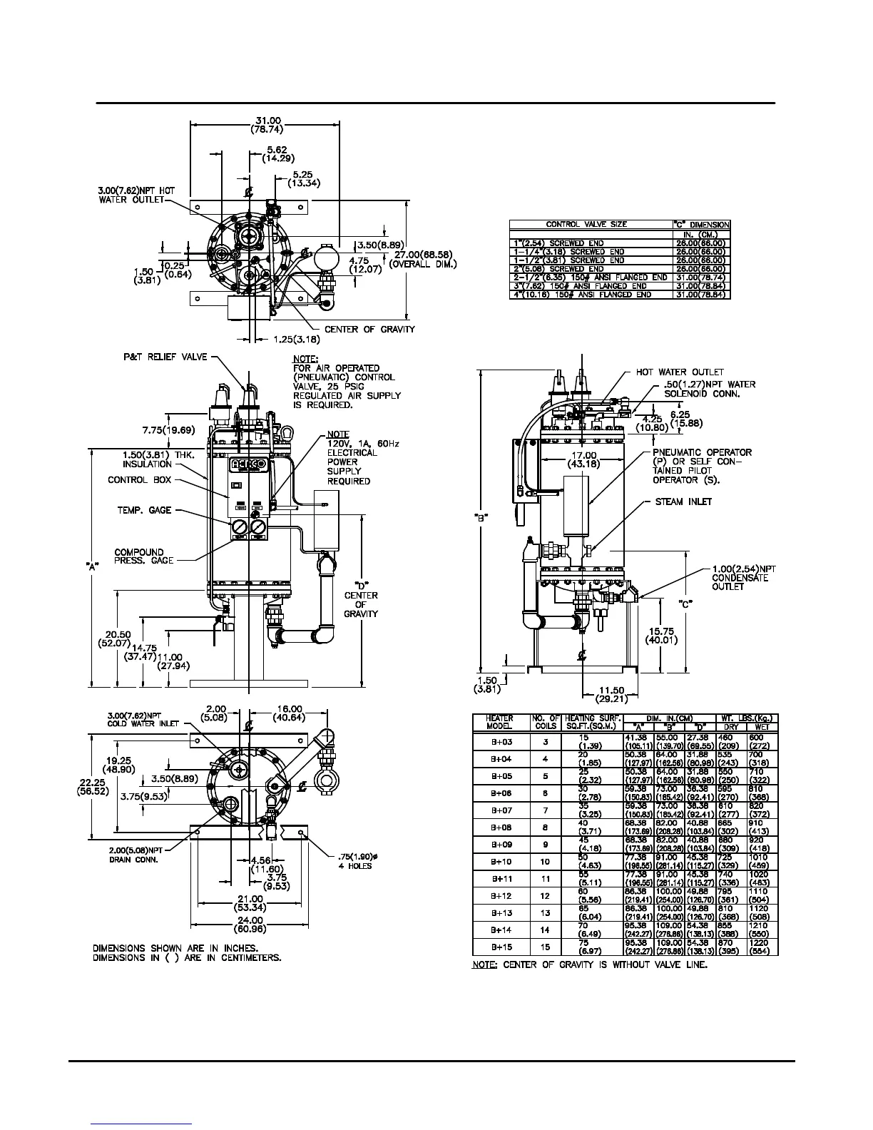
Figure 1a – Dimensions for AERCO Helitherm Heat Exchanger (Packaged Water Heater),
Model Water Wizard SW1B+II with Pneumatic CXT-P Valve
Chapter 2
General Information

Table of Contents

Related product manuals