EasyManua.ls Logo

Aerco B+07 - Page 9

Default Icon
50 pages
Print Icon
To Next Page IconTo Next Page
To Next Page IconTo Next Page
To Previous Page IconTo Previous Page
To Previous Page IconTo Previous Page
Loading...
1B+ II Water Wizard Water Heaters HE-110
Installation, Operation & Maintenance Manual OMM-0063_0D
11/28/2018 Page 9 of 50
AERCO International, Inc. 100 Oritani Dr. Blauvelt, New York 10913
Phone: 800-526-0288
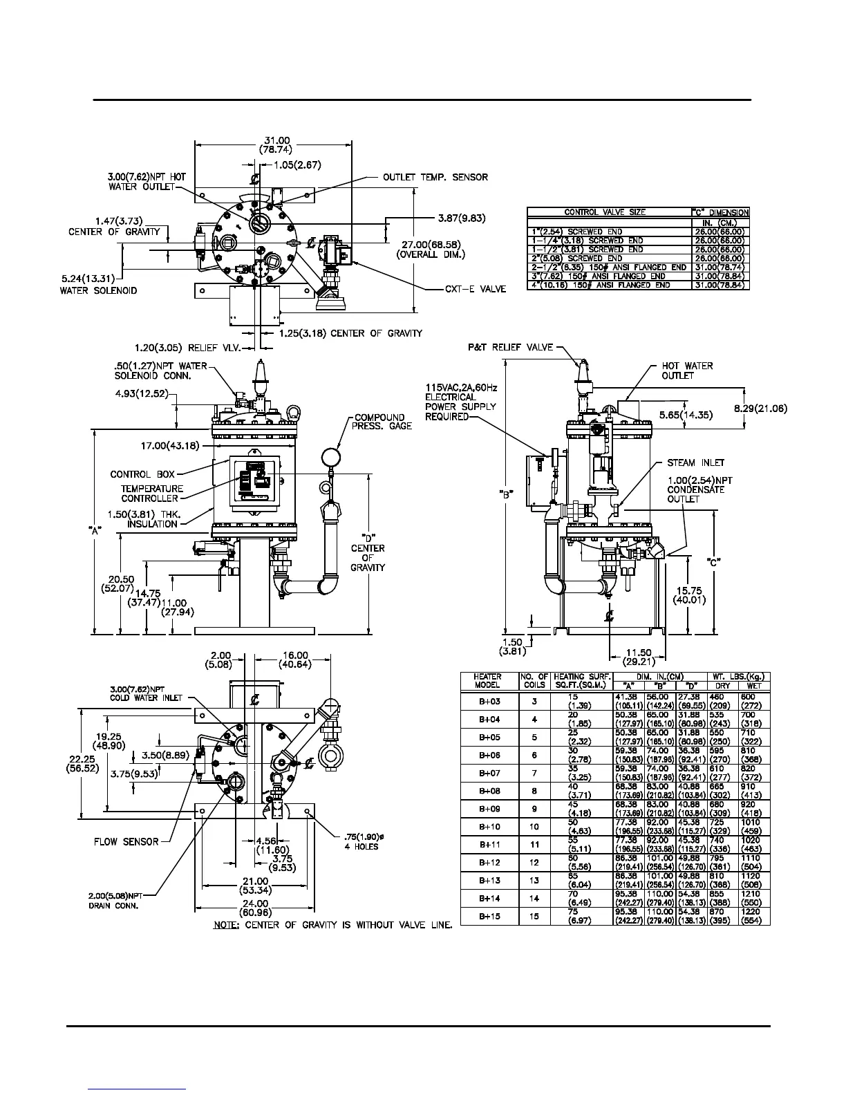
Figure 1b Dimensions for AERCO Helitherm Heat Exchanger (Packaged Water Heater),
Model Water Wizard SW1B+II with Bronze Heads, ECS, and CTX-E Valve

Table of Contents

Related product manuals