EasyManua.ls Logo

AERMEC FCW 522V - Page 20

AERMEC FCW 522V
Print Icon
To Next Page IconTo Next Page
To Next Page IconTo Next Page
To Previous Page IconTo Previous Page
To Previous Page IconTo Previous Page
Loading...
20
Italiano
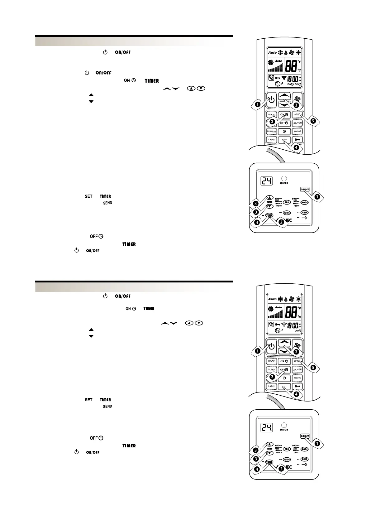
 O
impostare sul telecomando le condizioni (MODE, FAN, TEMP) che desideriamo siano
attive al riavvio
spegnere con i tasti
o
 O
 O
il tasto con il simbolo permette incrementi di 1 ora
il tasto con il simbolo
permette decrementi di 1 ora
Il display indica solamente le ore di fermo prima dell’accensione programmata,
TLW2 da 1 a 18 ore,
PLW2 da 1 a 24 ore,
il numero si aggiornerà ogni ora fino all’accensione dell’unità.
Al momento dell’accensione, sull’unità:
- un segnale acustico (BEEP) avverte della messa in funzione
- il display visualizzerà le condizioni precedentemente scelte al punto 1)
Al momento programmato per l’accensione, la ventilazione potrebbe non avviarsi:
- perché la temperatura ambiente rientra già nei valori programmati.
- perché la temperatura dell’acqua non è appropriata al modo di funzionamento richie-
sto
- perché durante le ore di attesa programmate è stata interrotta l’alimentazione elettri-
ca dell’unità.

O 



Per trasmettere all'unità le impostazioni visibili nello schermo LCD del telecomando.

TLW2 - Premere il tasto
per cancellare la scelta.
PFW2 - Premere per 3 secondi il tasto
per cancellare la scelta.
Premere il tasto
o per avviare manualmente l’unità, la programmazione del
timer si cancella.
PFW2
TLW2
PFW2
TLW2
 O
impostare sul telecomando le condizioni (MODE, FAN, TEMP)

O
 O
il tasto con il simbolo permette incrementi di 1 ora
il tasto con il simbolo
permette decrementi di 1 ora
Il display indica oltre alle modalità di funzionamento le ore di accensione prima dello spegni-
mento programmato,
TLW2 da 1 a 18 ore,
PLW2 da 1 a 24 ore,
il numero si aggiornerà ogni ora fino allo spegnimento dell’unità.
Prima dello spegnimento programmato l’unità emette un segnale acustico (BEEP).
Al momento programmato per lo spegnimento l’unità potrebbe non spegnersi perché
durante le ore di attesa programmate è stata interrotta l’alimentazione elettrica
dell’unità.

O 



Per trasmettere all'unità le impostazioni visibili nello schermo LCD del telecomando.

TLW2 - Premere il tasto
per cancellare la scelta.
PFW2 - Premere per 3 secondi il tasto
per cancellare la scelta.
Premere il tasto
o per avviare manualmente l’unità, la programmazione del
timer si cancella.



Related product manuals