EasyManua.ls Logo

AERMEC FCW 522V - Page 60

AERMEC FCW 522V
Print Icon
To Next Page IconTo Next Page
To Next Page IconTo Next Page
To Previous Page IconTo Previous Page
To Previous Page IconTo Previous Page
Loading...
60
Français
Le programme demande que de l'eau réfrigérée circule dans l'installation.

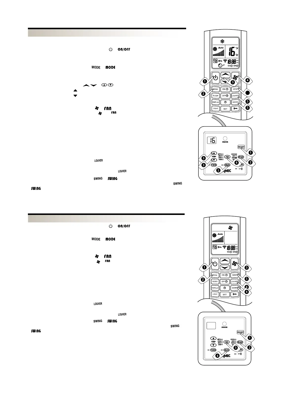
O
Le ventilo-convecteur entre en fonction. Le ventilo-convecteur s'active automatiquement en
mode Rafraîchissement

O
Appuyer plusieurs fois sur la touche MODE jusqu'à tant que le mot COOL (TLW2) n'apparaisse sur
l'écran ou que la led n'indique COOL (PFW2).

O 
– la touche avec le symbole
permet d'effectuer des augmentations de 1°C.
– la touche avec le symbole
permet d'effectuer des diminutions de 1°C.
L'écran montre la valeur configurée, la température peut être comprise entre 16 et 30°C.

O
En appuyant plusieurs fois sur les touches o , il est possible de passer de la vitesse mini-
male (LOW), moyenne (MED) et maximale (HIGH) ou à la vitesse gérée par le microprocesseur
AUTO.

Pour obtenir une distibution optimale de l'air, régler le déflecteur horizontal et les aillettes ver
-
ticales de façon à ce que le flux d'air n'investisse pas directement les personnes. Les ailettes
déflectrices verticales doivent être orientées à la main avant de mettre le déflecteur motorisé en
marche. Le déflecteur horizontal ne doit jamais être réglé à la main.
En appuyant plusieurs fois sur la touche
le déflecteur horizontal s'oriente sur 4 angulations
différentes préfixées, ensuite il commence son mouvement continu oscillant ; si vous souhaitez
le bloquer dans une position, réappuyez sur la touche
.
En appuyant plusieurs fois sur la touche
o commence alors un mouvement continu
oscillant ; si vous souhaitez le bloquer dans une position, réappuyez sur la touche
o
.

Pour transmettre les configurations visibles sur l'écran à cristaux liquides de la télécommande, à
l'unité.
 O
Le ventilo-convecteur se met en marche et l'écran de l'unité s'allume.

O
Appuyer plusieurs fois sur la touche MODE jusqu'à tant que le mot FUN (TLW2) n'apparaisse sur
l'écran ou que la led n'indique FUN (PFW2).

O
En appuyant plusieurs fois sur les touches o , il est possible de passer à la vitesse minimale
(LOW), moyenne (MED) et maximale (HIGH).

Pour obtenir une distibution optimale de l'air, régler le déflecteur horizontal et les aillettes ver
-
ticales de façon à ce que le flux d'air n'investisse pas directement les personnes. Les ailettes
déflectrices verticales doivent être orientées à la main avant de mettre le déflecteur motorisé
en marche. Le déflecteur horizontal ne doit jamais être réglé à la main.
En appuyant plusieurs fois sur la touche
le déflecteur horizontal s'oriente sur 4 angulations
différentes préfixées, ensuite il commence son mouvement continu oscillant ; si vous souhaitez
le bloquer dans une position, réappuyez sur la touche
.
En appuyant plusieurs fois sur la touche
o commence alors un mouvement continu
oscillant ; si vous souhaitez le bloquer dans une position, réappuyez sur la touche
o
.

Pour transmettre les configurations visibles sur l'écran à cristaux liquides de la télécommande, à
l'unité.

Utiliser ce programme pour faire circuler l'air dans la pièce et pour éviter qu'il ne stagne. Le pro
-
gramme de ventilation est particulièrement bien adapté comme support pour les systèmes de
chauffage non ventilés, comme lorsque pour chauffer la pièce en utilisant un poêle, tout l'air
chaud se concentre près du plafond. En configurant l'unité en mode ventilation, l'air chaud se
distribue uniformément dans la pièce.


6
PFW2
TLW2
PFW2
TLW2