EasyManua.ls Logo

AERMEC FCW 522V - Page 62

AERMEC FCW 522V
Print Icon
To Next Page IconTo Next Page
To Next Page IconTo Next Page
To Previous Page IconTo Previous Page
To Previous Page IconTo Previous Page
Loading...
62
Français
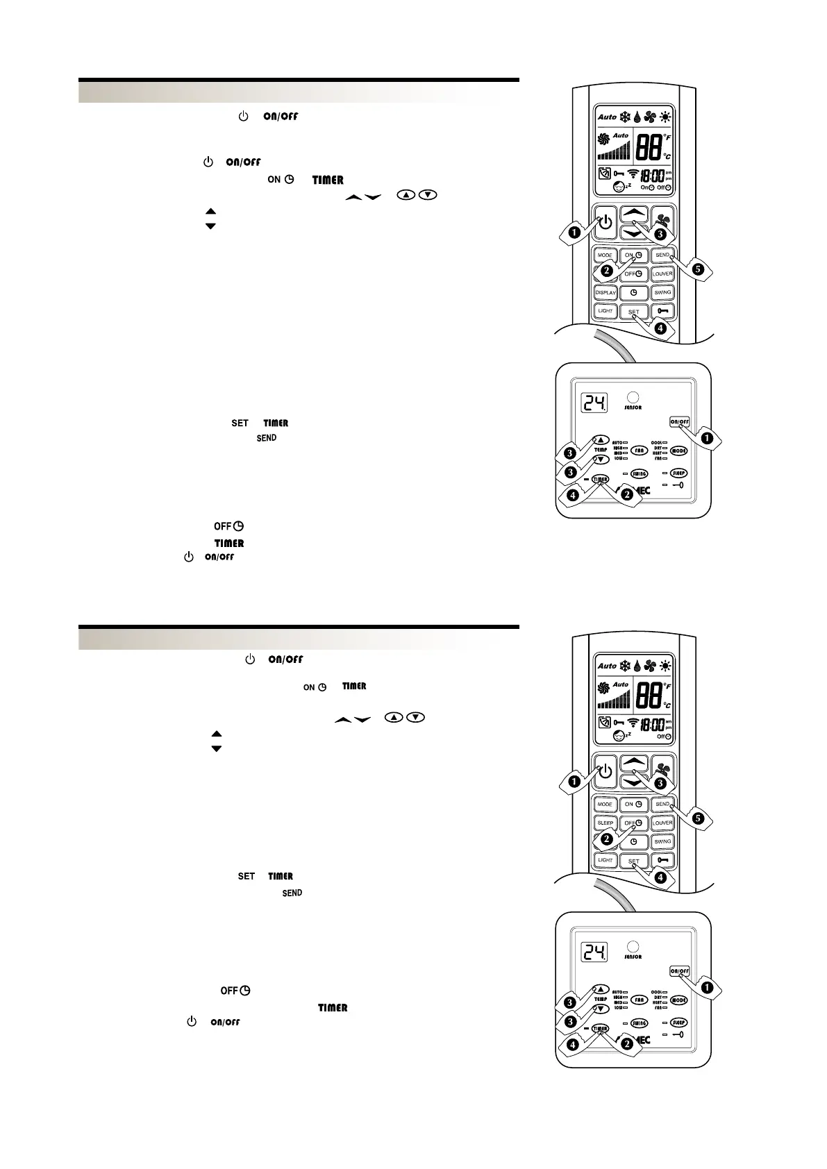
 O
– sur la télécommande, configurer les conditions (MODE, FAN, TEMP) que vous souhaitez voir acti-
vées au rallumage.
– éteindre avec les touches
o
 O
 O
– la touche avec le symbole permet d'effectuer des augmentations d'1 heure
– la touche avec le symbole
permet d'effectuer des diminutions d'1 heure
L'écran indique seulement les heures d'arrêt avant l'allumage programmé,
TLW2 de 1 à 18 heures,
PLW2 de 1 à 24 heures,
le nombre se met à jour toutes les heures jusqu'à l'allumage de l'unité.
Au moment de l'allumage, sur l'unité :
- un signal acoustique (BEEP) signale la mise en marche
- l'écran visualise les conditions précédemment choisies au point 1)
Au moment programmé pour l'allumage, la ventilation pourrait ne pas se mettre en marche :
- parce que la température ambiante rentre déjà dans les valeurs programmées.
- parce que la température de l'eaun'est pas appropriée au mode de fonctionnement demandé
- parce que durant les heures d'attente programmées, l'alimentation électrique de l'unité a été
interrompue.

O 



Pour transmettre les configurations visibles sur l'écran à cristaux liquides de la télécommande, à
l'unité.

TLW2 - Appuyer sur la touche
pour effacer votre choix.
PLW2 - Appuyer sur la touche pendant 3 secondes pour effacer votre choix.
Appuyer sur la touche
o pour mettre l'unité en marche manuellement, la programma-
tion du timer s'efface.
 O
configurer sur la télécommande les conditions (MODE, FAN, TEMP)

O

O
la touche avec le symbole
permet d'effectuer des augmentations d'1 heure
la touche avec le symbole
permet d'effectuer des diminutions d'1 heure
L'écranindique, outre les modes de fonctionnement, les heures d'allumage avant l'arrêt pro
-
grammé,
TLW2 de 1 à 18 heures,
PLW2 de 1 à 24 heures,
le nombre se met à jour toutes les heures jusqu'à l'arrêt de l'unité.
Avant l'arrêt programmé, l'unité émet un signal acoustique (BEEP).
Au moment programmé pour l'arrêt, l'unité pourrait ne pas s'éteindreparce que durant les
heures d'attente programmées, l'alimentation électrique de l'unité a été interrompue.

O 




Pour transmettre les configurations visibles sur l'écran à cristaux liquides de la télécom
-
mande, à l'unité.

TLW2 - Appuyer sur la touche pour effacer votre choix.
PLW2 - Appuyer sur la touche pendant 3 secondes pour effacer votre choix.
Appuyer sur la touche
o pour mettre l'unité en marche manuellement, la program-
mation du timer s'efface.


PFW2
TLW2
PFW2
TLW2

Related product manuals