EasyManua.ls Logo

AERMEC FCW 522V - Page 83

AERMEC FCW 522V
Print Icon
To Next Page IconTo Next Page
To Next Page IconTo Next Page
To Previous Page IconTo Previous Page
To Previous Page IconTo Previous Page
Loading...
83
Deutsch
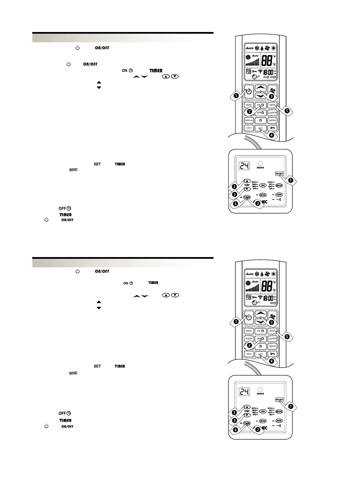
 ODER EINSCHALTEN.
Auf der Fernbedienung die Betriebsbedingungen einstellen, die beim Wiederanlauf aktiv
sein sollen (MODE, FAN, TEMP).
Mit den Tasten
oder ausschalten.

ODER .
 ODER EINSTELLEN.
Mit der Taste mit dem Symbol kann in Schritten von 1 Stunde erhöht werden.
Mit der Taste mit dem Symbol
kann in Schritten von 1 Stunde vermindert werden.
Das Display zeigt nur die Stunden des Stillstands vor dem programmierten Einschalten an,
TLW2 von 1 bis 18 Stunden,
PLW2 von 1 bis 24 Stunden,
die Zahl wird jede Stunde bis zum Einschalten der Einheit aktualisiert.
Im Augenblick des Einschaltens an der Einheit:
- weist ein Signalton (BEEP) auf die Inbetriebnahme hin
- zeigt das Display die vorher an Punkt 1) gewählten Bedingungen an
Zum für das Einschalten programmierten Zeitpunkt könnte die Ventilation nicht starten:
- weil die Raumtemperatur bereits innerhalb der programmierten Werte liegt.
- weil die Wassertemperatur für die gewünschte Betriebsart nicht geeignet ist.
- weil während der programmierten Wartezeit die Stromversorgung der Einheit unterbro
-
chen wurde.

BZW. 


DEN.

Zum Senden der auf dem LCD-Bildschirm der Fernbedienung angezeigten Einstellungen an
die Einheit.

TLW2 - Taste
drücken, um die Einstellung zu löschen.
PFW2 - Taste
3 Sekunden lang drücken, um die Einstellung zu löschen.
Taste
oder drücken, um die Einheit manuell zu starten, die Programmierung des
Timers wird gelöscht.
 ODER EINSCHALTEN.
Auf der Fernbedienung die Bedingungen einstellen (MODE, FAN, TEMP)

ODER .
 ODER EINSTELLEN.
Mit der Taste mit dem Symbol kann in Schritten von 1 Stunde erhöht werden.
Mit der Taste mit dem Symbol
kann in Schritten von 1 Stunde vermindert werden.
Das Display zeigt neben den Betriebsbedingungen die Betriebsstunden vor dem program
-
mierten Ausschalten an,
TLW2 von 1 bis 18 Stunden,
PLW2 von 1 bis 24 Stunden,
die Zahl wird jede Stunde bis zum Ausschalten der Einheit aktualisiert.
Vor dem programmierten Ausschalten gibt die Einheit einen Signalton (BEEP) aus.
Zum für das Ausschalten programmierten Zeitpunkt könnte die Einheit sich nicht ausschal
-
ten, weil während der programmierten Wartezeit die Stromversorgung der Einheit unter-
brochen wurde.

BZW. 


DEN.

Zum Senden der auf dem LCD-Bildschirm der Fernbedienung angezeigten Einstellungen an
die Einheit.

TLW2 - Taste
drücken, um die Einstellung zu löschen.
PFW2 - Taste
3 Sekunden lang drücken, um die Einstellung zu löschen.
Taste
oder drücken, um die Einheit manuell zu starten, die Programmierung des
Timers wird gelöscht.


PFW2
TLW2
PFW2
TLW2

Related product manuals