EasyManua.ls Logo

AERMEC SMUFFO DF 12 - Page 53

AERMEC SMUFFO DF 12
Print Icon
To Next Page IconTo Next Page
To Next Page IconTo Next Page
To Previous Page IconTo Previous Page
To Previous Page IconTo Previous Page
Loading...
53
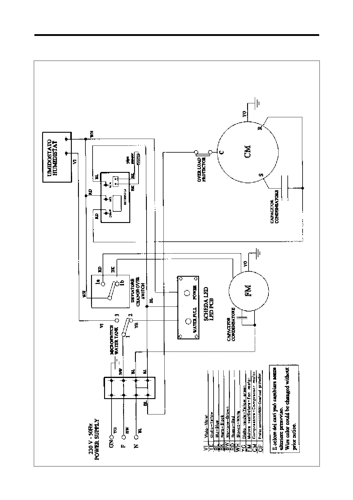
SCHEMA ELETTRICO - WIRING DIAGRAM - SCHÉMA ÉLECTRIQUE - STROMLAUFPLAN
ESQUEMA ELÉCTRICO
DF35R

Related product manuals