EasyManua.ls Logo

AGA marvel ML24RF - Page 46

AGA marvel ML24RF
84 pages
Print Icon
To Next Page IconTo Next Page
To Next Page IconTo Next Page
To Previous Page IconTo Previous Page
To Previous Page IconTo Previous Page
Loading...
18
1
5
32 po
(2,9 cm)
1
5
32 po
(2,9 cm)
1
3
4 po
(4,4 cm)
2 po
(5,1 cm)
3
11
16 po
(9,4 cm)
1
11
16 po
(4,3 cm)
30
11
32 po
(77,1 cm)
14 po
(35,6 cm)
1
3
16 po
(3 cm)
3
1
8 po
(7,9 cm)
23
3
4 po
(60,3 cm)
23
3
4 po
(60,3 cm)
3
1
8 po
(7,9 cm)
1
3
4 po
(4,4 cm)
2 po
(5,1 cm)
3
11
16 po
(9,4 cm)
30
11
32 po
(77,1 cm)
1
11
16 po
(4,3 cm)
4
7
8 po
(12,4 cm)
4
7
8 po
(12,4 cm)
14 po
(35,6 cm)
1
3
16 po
(3 cm)
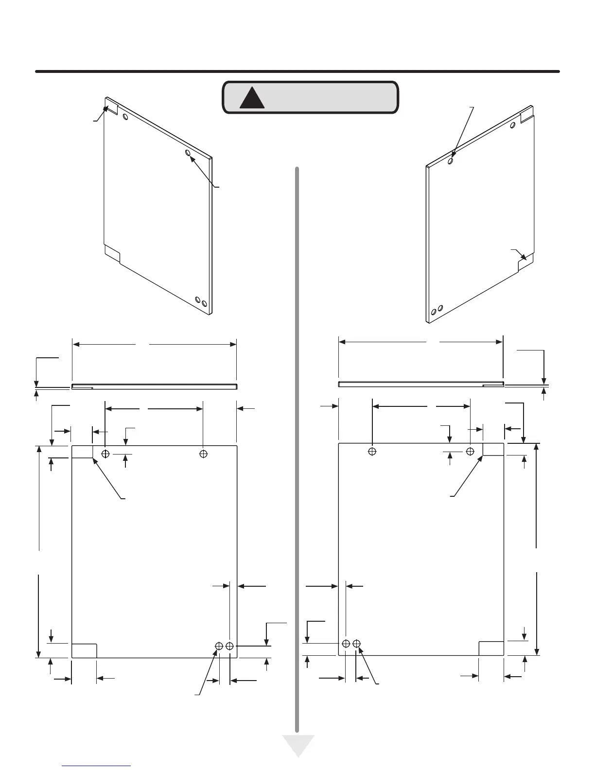
Dégagement
pour charnière,
2 emplacements
Dégagement pour
charnière, 2
emplacements
INSTALLATION DE PANNEAU DE REVÊTEMENT DE PORTE
Le poids du revêtement de porte ne
doit pas dépasser 15 lb (6,8 kg) .
!
ATTENTION
Haut de porte
Haut de porte
Côté charnières de la porte
Côté charnières de la porte
Dégagement
pour tête de vis, 4
emplacements
Dégagement
pour tête de vis, 4
emplacements
Figure 20
Porte à charnières à
gauche Appareil de
largeur 24 po (61 cm)
Figure 18
Porte à charnières à droite
Appareil de largeur
24 po (61 cm)
Figure 21
Porte à charnières à gauche
Appareil de largeur 24 po (61 cm)
Figure 19
Porte à charnières à droite
Appareil de largeur 24 po (61 cm)
Cette face
vers l'intérieur
Cette face
vers l'intérieur
Arrondi de
1
4 po (6 mm)
autorisé
Arrondi de
1
4 po (6 mm)
autorisé
1
4 po
(6 mm)
Profondeur
1
4 po
(6 mm)
Profondeur
1 po (25,4 mm) de diamètre,
contre-alésage de
1
4 po
(6 mm) de profondeur, 4
emplacements
1 po (25,4 mm) de diamètre,
contre-alésage de
1
4 po
(6 mm) de profondeur, 4
emplacements
1
1
2 po
(3,8 cm)
typique
1
1
2 po
(3,8 cm)
typique

Table of Contents

Related product manuals