EasyManua.ls Logo

AGA DxD 910 - Refrigerator and Freezer Controls; Fresh Food Temperature Setting; Freezer Temperature Setting

AGA DxD 910
24 pages
Print Icon
To Next Page IconTo Next Page
To Next Page IconTo Next Page
To Previous Page IconTo Previous Page
To Previous Page IconTo Previous Page
Loading...
5
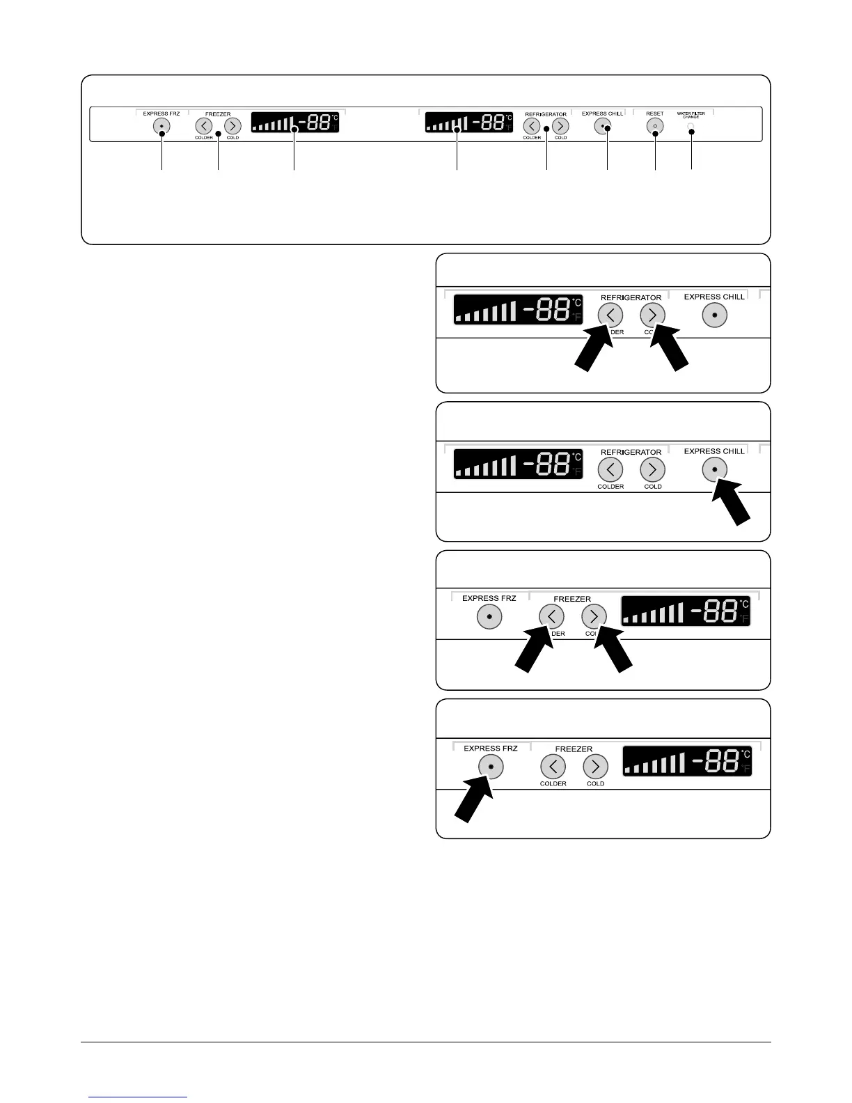
Fridge Freezer Controls
The Fridge Freezer control panel is situated inside the fridge
compartment at the top, as shown in Fig.2-11.
Fridge Settings
Adjusting the Fresh Food Temperature
The fridge temperature range is 1 °C to 7 °C.
Press either of the refrigerator adjustment buttons
< or ‘>
(Fig.2-12) and the refrigerator digital display will icker.
Press button ‘
< to reduce the temperature; press button >’ to
increase the temperature.
Fresh Food Quick-Chill
Press the Quick Chill button (Fig.2-13) and the Fresh
Food quick-chill refrigerator indicator lamp will illuminate.
The refrigerator is now in quick-chill refrigerator mode.
The refrigerator will switch out of quick-chill mode when
the storage temperature is 1 °C lower than the desired
temperature.
If you want to switch o the quick-chill mode, press the Quick
Chill button. The quick-chill indicator lamp will go out, and
the refrigerator will be out of quick-chill mode.
Freezer Settings
Adjusting the Freezer Temperature
The freezer temperature range is –19 °C to –13 °C.
Press either of the freezer temperature adjustment buttons
<
or ‘>(Fig.2-14) and the freezer digital display will icker.
Press button ‘
< to reduce the temperature; press button >’ to
increase the temperature.
Freezer Quick-Freeze
The quick-freeze function is designed to freeze food
completely in the shortest possible time.
Press EXPRESS FRZ button and the Express-freeze button
indicator lamp will illuminate (Fig.2-15). The freezer is now in
the quick-freeze mode.
The freezer will remain in this mode for 4 hours. You can press
the Quick Freeze button after 3 hours if you wish to end the
quick-freeze mode early.
ArtNo.600-0015 - Fridge freezer control panel
A
B
C
D
E
F
G
H
Fig.2-11
ArtNo.600-0036 - Fridge controls 1
ArtNo.600-0037 - Fridge controls 2
ArtNo.600-0038 - Freezer controls 1
ArtNo.600-0039 - Freezer controls 2
Fig.2-12
Fig.2-13
Fig.2-14
Fig.2-15
A – Quick freeze button,
B – Freezer temperature adjusting buttons,
C – Freezer temperature display,
D – Refrigerator temperature display,
E – Refrigerator temperature adjusting buttons,
F – Refrigerator quick chill button,
G – Water lter reset button,
H – Water lter indicator

Related product manuals