EasyManua.ls Logo

AGPtek A21 - Page 27

AGPtek A21
70 pages
Print Icon
To Next Page IconTo Next Page
To Next Page IconTo Next Page
To Previous Page IconTo Previous Page
To Previous Page IconTo Previous Page
Loading...
25
musicali o le cartelle direttamente sul lettore.
Nota: non scollega il lettore durante la trasmissione. In
tal caso, i file trasferiti saranno danneggiati.
Menu
Il menu principale è il punto di partenza per ogni
applicazione. Il menu principale ha 6 funzioni principali:
Musica, Album, Impostazioni di riproduzione, Strumenti
(include radio FM, Registrazioni, Cronometro e
Calendario), imposta, Vista cartelle.
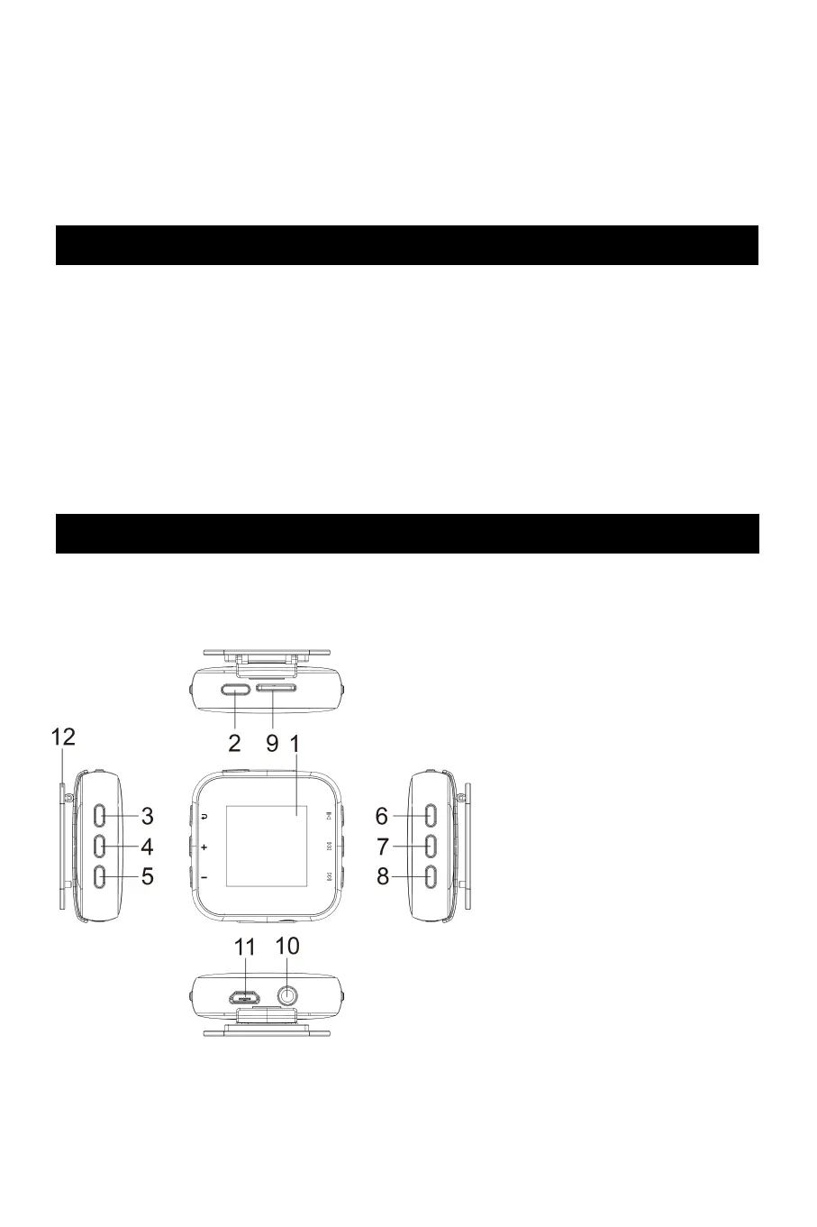
Panoramica dell'unità

Related product manuals