EasyManua.ls Logo

AGPtek A21 - Page 39

AGPtek A21
70 pages
Print Icon
To Next Page IconTo Next Page
To Next Page IconTo Next Page
To Previous Page IconTo Previous Page
To Previous Page IconTo Previous Page
Loading...
37
Nota: No desconecta el reproductor durante la
transmisión. Si lo hace, los archivos que se transfieren
estarán dañados.
Menú
El menú principal es el punto de partida para cada
aplicación. El menú principal tiene 6 funciones
principales: Música, Álbumes, Reproducir Ajustes,
Herramientas (incluye Radio FM, Grabaciones,
Cronómetro y Calendario), Ajustes, Vista carpetas.
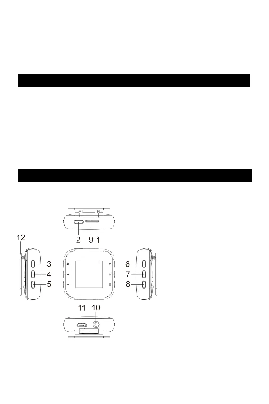
Resumen de la unidad
1.1.5" TFT Patalla
2.Encendido/apagado
3. Volver
4. Volumen+
5. Volumen-
6. Entrar/Menú/
Reproducir/Pausar
7. Anterior/
etroceso rápido
8. Siguiente/
avance rápido
9. Ranura para
tarjeta micro SD
10. Enchufe de
auriculares
11. Puerto micro-USB
12. Clip

Related product manuals