EasyManua.ls Logo

Akai AM-2600

Akai AM-2600
27 pages
To Next Page IconTo Next Page
To Next Page IconTo Next Page
To Previous Page IconTo Previous Page
To Previous Page IconTo Previous Page
Loading...
VI.
MAIN
AMPLIFIER
ADJUSTMENT
1.
IDLING
CURRENT
ADJUSTMENT
r
.
D
a
*
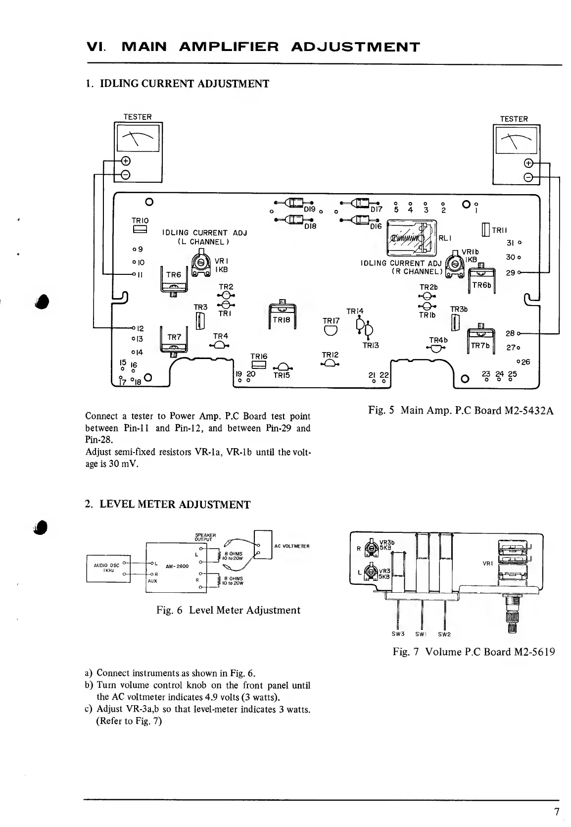
Fig.
5
Main
Amp.
P.C
Board
M
2-5
43
2A
Connect
a
tester
to
Power
Amp.
P.C
Board
test
point
'
between
Pin-11
and
Pin-12,
and
between
Pin-29
and
Pin-28.
Adjust
semi-fixed
resistors
VR-la,
VR-lb
until
the
volt¬
age
is
30
mV.
2.
LEVEL
METER
ADJUSTMENT
Fig.
7
Volume
P.C
Board
M2-5619
a)
Connect
instruments
as
shown
in
Fig.
6.
b)
Turn
volume
control
knob
on
the
front
panel
until
the
AC
voltmeter
indicates
4.9
volts
(3
watts).
c)
Adjust
VR-3a,b
so
that
level-meter
indicates
3
watts.
(Refer
to
Fig.
7)
7

Other manuals for Akai AM-2600

Related product manuals