EasyManua.ls Logo

Akai AM-U55/J

Akai AM-U55/J
70 pages
To Next Page IconTo Next Page
To Next Page IconTo Next Page
To Previous Page IconTo Previous Page
To Previous Page IconTo Previous Page
Loading...
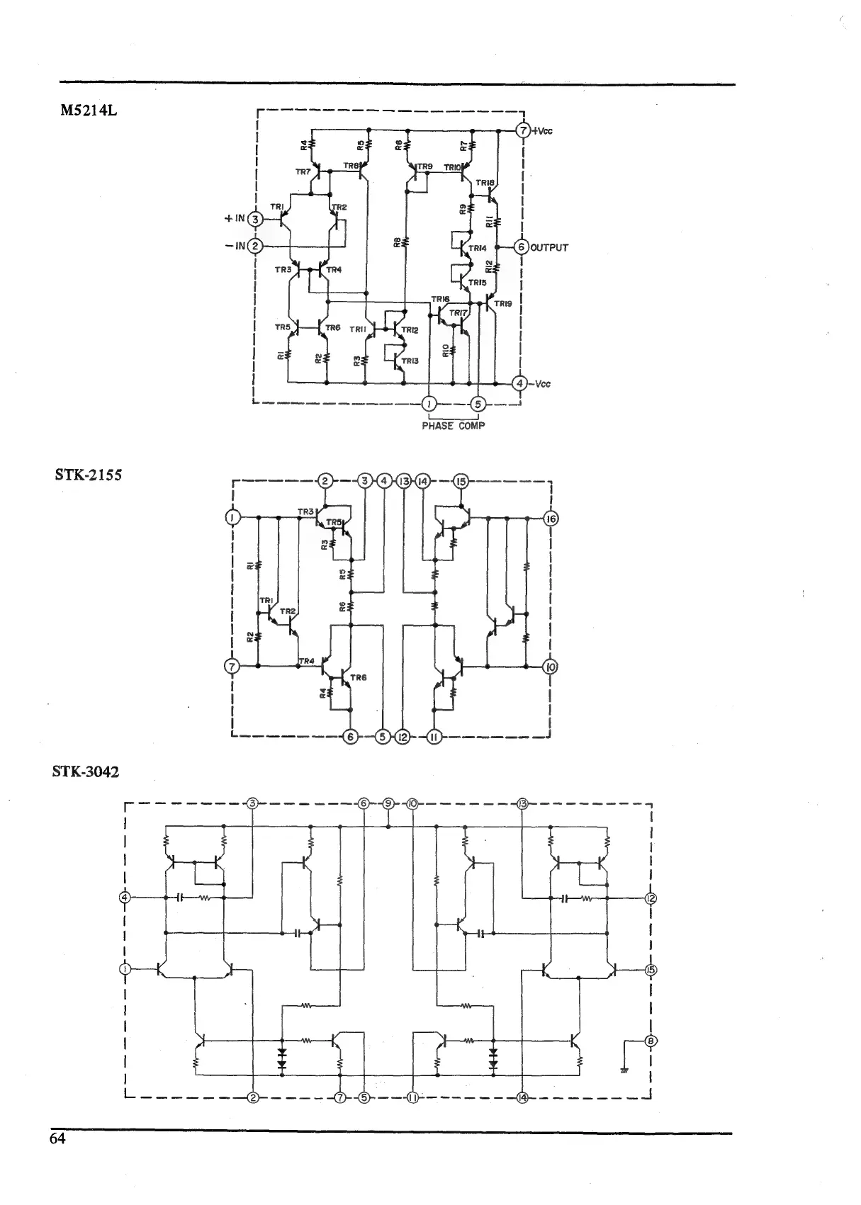
M5214L
STK-2155
STK-3042
64
@-—
——--O--6--—)

Related product manuals