EasyManua.ls Logo

Akai X-1810

Akai X-1810
40 pages
To Next Page IconTo Next Page
To Next Page IconTo Next Page
To Previous Page IconTo Previous Page
To Previous Page IconTo Previous Page
Loading...
Vil.
AMPLIFIER
ADJUSTMENT
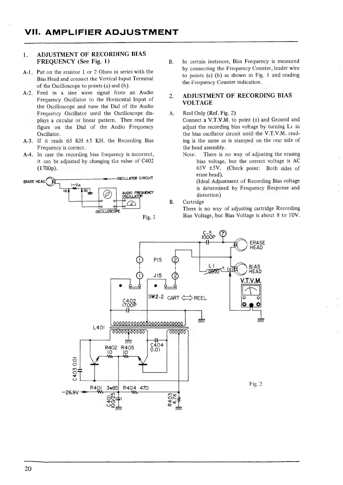
A-l.
A-2.
A-3.
ADJUSTMENT
OF
RECORDING
BIAS
FREQUENCY
(See
Fig.
1)
Put
on
the
resistor
1
or
2
Ohms
in
series
with
the
Bias
Head
and
connect
the
Vertical
Input
Terminal
of
the
Oscilloscope
to
points
(a)
and
(b).
Feed
in
a
sine
wave
signal
from
an
Audio
Frequency
Oscillator
to
the
Horizontal
Input
of
the
Oscilloscope
and
tune
the
Dial
of
the
Audio
Frequency
Oscillator
until
the
Oscilloscope
dis-
plays
a
circular
or
linear
pattern.
Then
read
the
figure
on
the
Dial
of
the
Audio
Frequency
Oscillator.
If
it
reads
65
KH
+5
KH,
the
Recording
Bias
Frequency
is
correct.
.
In
case
the
recording
bias
frequency
is
incorrect,
it
can
be
adjusted
by
changing
the
value
of
C402
(1700p).
OSCILLATOR
CIRCUIT
AUDIO
FREQUENCY
OSCILLATOR
OSCILLOSCOPE
C403
0.01
In
certain
instances,
Bias
Frequency
is
measured
by
connecting
the
Frequency
Counter,
leader
wire
to
points
(a)
(b)
as
shown
in
Fig.
1
and
reading
the
Frequency
Counter
indication.
ADJUSTMENT
OF
RECORDING
BIAS
VOLTAGE
Reel
Only
(Ref.
Fig.
2)
Connect
a
V.T.V.M.
to
point
(a)
and
Ground
and
adjust
the
recording
bias
voltage
by
turning
Li
in
the
bias
oscillator
circuit
until
the
V.T.V.M.
read-
ing
is
the
same
as
is
stamped
on
the
rear
side
of
the
head
assembly.
Note:
There
is
no
way
of
adjusting
the
erasing
bias
voltage,
but
the
correct
voltage
is
AC
65V
+5V.
(Check
point:
Both
sides
of
erase
head).
(Ideal
Adjustment
of
Recording
Bias
voltage
is
determined
by
Frequency
Response
and
distortion)
Cartridge
There
is
no
way
of
adjusting
cartridge
Recording
Bias
Voltage,
but
Bias
Voltage
is
about
8
to
10V.
20

Related product manuals