EasyManua.ls Logo

Alesis 4 - Double and Dual Mono Configurations

Alesis 4
69 pages
Print Icon
To Next Page IconTo Next Page
To Next Page IconTo Next Page
To Previous Page IconTo Previous Page
To Previous Page IconTo Previous Page
Loading...
Overview of Effects – Chapter 3
MidiVerb 4 Reference Manual 27
CHAPTER 3
OVERVIEW OF EFFECTS
The Architecture of the MidiVerb 4
What is a Configuration?
A Configuration is an arrangement of one or more effects. Each of the 256 internal
Programs in the MidiVerb 4 use one Configuration. There are 32 different
Configurations available, each of which fall into one of four categories. The four
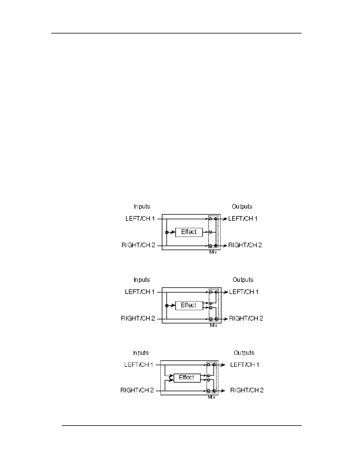
types of Configurations are: Single, Double, Dual Mono and Multi Chain.
Single
A Single Configuration consists of one effect. These Configurations utilize complex,
processor-intensive effect algorithms providing the best quality possible for each
effect type supported. There are different kinds of Single Configurations, including:
Mono-in/mono-out. These effects have a single input (both inputs summed
together) and a single output (routed to both outputs).
Mono-in/stereo-out. These effects have a single mono input and two outputs.
Stereo-in/stereo-out. These effects have two inputs and two outputs.
In each case, the dry, uneffected signal of both inputs are also routed to the outputs.

Other manuals for Alesis 4

Related product manuals