EasyManua.ls Logo

Alesis QS7 - Page 104

Alesis QS7
141 pages
Print Icon
To Next Page IconTo Next Page
To Next Page IconTo Next Page
To Previous Page IconTo Previous Page
To Previous Page IconTo Previous Page
Loading...
Chapter 7: Editing Effects
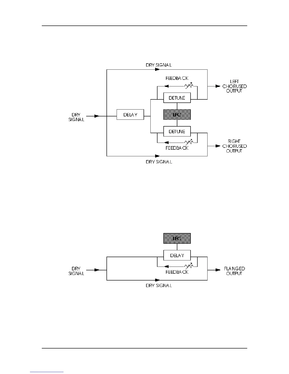
Stereo Chorus. In the case of a Stereo Chorus, the signal is split into three parts
with a dry signal and a separate Detuning section for both left and right channels.
When the left channel is detuned sharp, the right is detuned flat, and vice versa.
Once again, this causes the effect to become more pronounced and dramatic.
Mono Flange. First used in the 1960s, “Flanging” was achieved by the use of two
tape recorders that would record and play back the same program in synchronization.
By alternately slowing down one tape machine, and then the other, different phase
cancellations would occur. Since the slowing down of the tape machines was done by
hand pressure against the flanges of the tape supply reels, the term “Flanging” came
into being.
The effect of Flanging is achieved by splitting and slightly delaying one part of the
signal, then varying the time delay, again with an LFO. The delayed signal is then
mixed back with the original sound to produce the “swishing” or “tunneling” sound.
Many variables are available, from varying the speed and depth of the LFO to feeding
back part of the signal to make the effect stronger. The Flanger’s feedback can be
either “Normal” or “Inverted”. Use the “Inverted” setting for a more dramatic flange
effect.
102 QS7/QS8 Reference Manual

Table of Contents

Other manuals for Alesis QS7

Related product manuals