EasyManua.ls Logo

Allen-Bradley SLC 500 1746-NO4V - Page 19

Allen-Bradley SLC 500 1746-NO4V
28 pages
To Next Page IconTo Next Page
To Next Page IconTo Next Page
To Previous Page IconTo Previous Page
To Previous Page IconTo Previous Page
Loading...
SLC 500™ Analog I/O Modules 19
Publication 1746-IN008A-US-P
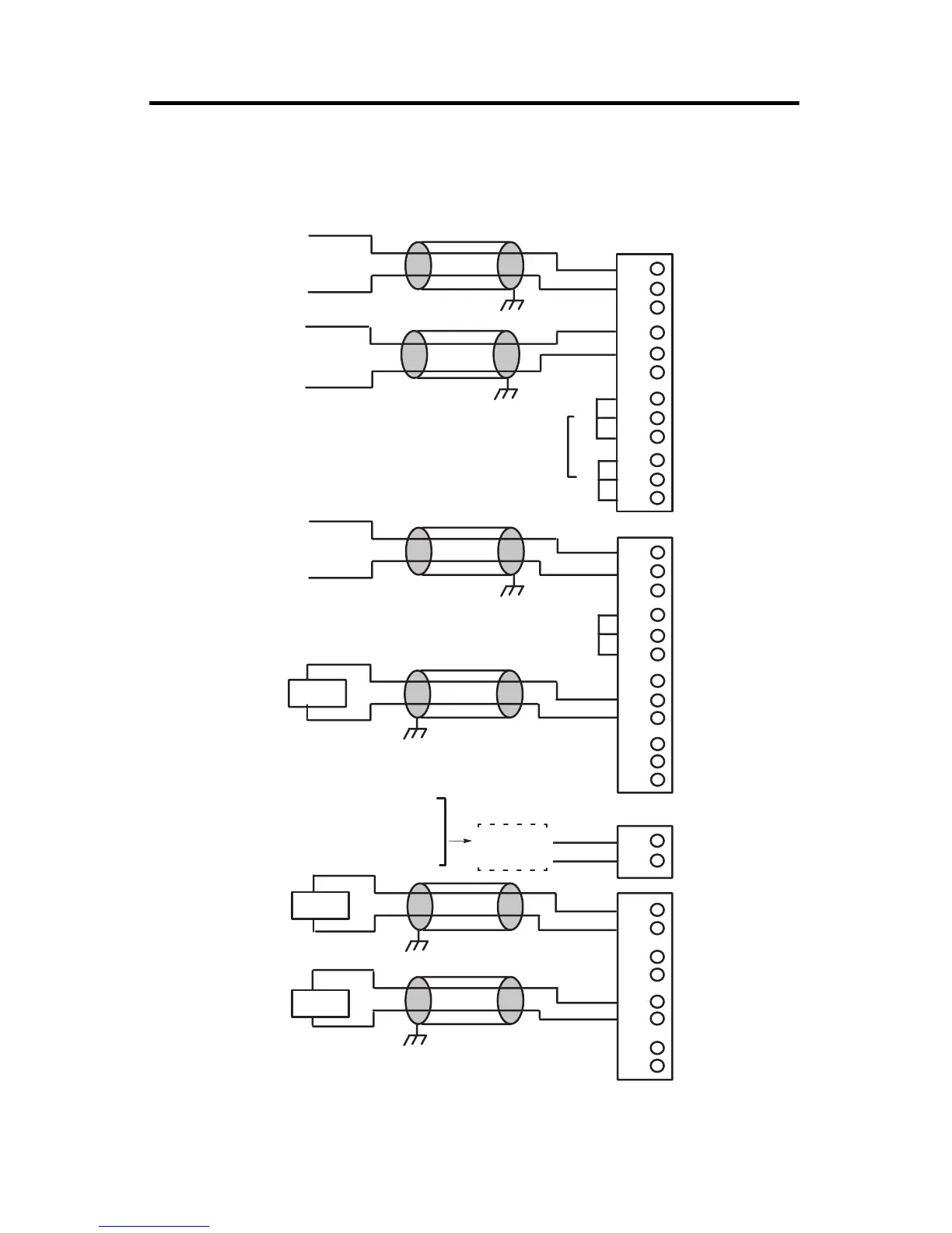
Wiring Diagram (showing differential inputs)
0
1
2
9
10
11
+
-
+
-
3
4
5
6
7
8
0
1
2
9
10
11
3
4
5
6
7
8
0
1
2
3
4
5
6
7
0
1
+
-
NI4
analog
source
analog
source
analog
source
earth
ground
earth
ground
Jumper
unused
inputs.
IN 0+
IN 0-
ANL COM
IN 1+
IN 1-
ANL COM
IN 2+
IN 2-
ANL COM
IN 3+
IN 3-
ANL COM
IN 0+
IN 0-
ANL COM
IN 1+
IN 1-
ANL COM
IN 2+
IN 2-
ANL COM
IN 3+
IN 3-
ANL COM
earth
ground
Jumper
unused
inputs.
LOAD
earth
ground
NIO4I, NIO4V,
FIO4I, and FIO4V
Do not
jumper
NO4I and NO4V
24V dc power supply if external
power is selected. Cable length from
external 24V dc power supply to
analog module must be less than
Ext. pwr
sup.
+24V dc
dc COM
LOAD
LOAD
earth
ground
earth
ground
Do not jumper
unused outputs.
OUT 0
ANL COM
OUT 1
ANL COM
OUT 2
ANL COM
OUT 3
ANL COM
Analog commons are internally
connected in the module.
Channels are not isolated from
Allen-Bradley HMIs

Related product manuals