EasyManua.ls Logo

Allen + Roth 0803776 - Page 30

Allen + Roth 0803776
51 pages
Print Icon
To Next Page IconTo Next Page
To Next Page IconTo Next Page
To Previous Page IconTo Previous Page
To Previous Page IconTo Previous Page
Loading...
INSTRUCTIONS DE MONTAGE FINAL
30
Lowes.com/allenandroth
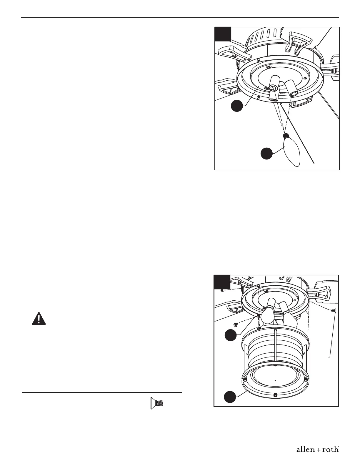
9. Insérez les ampoules (L) dans les douilles du kit
d'éclairage (H).
10. Placez l'abat-jour (J) contre le logement du kit
d'éclairage (G) et fixez-le à l'aide des vis de
l’abat-jour.
J
G
10
Vis de
abat-jour
ATTENTION : Un limiteur de puissance destiné
à économiser l'énergie est inclus dans le récepteur.
Lorsque vous remplacez les ampoules,
assurez-vous que leur puissance est inférieure à 190
watts, sinon le dispositif atténuera la luminosité à
190 watts ou éteindra automatiquement la lumière.
Quincaillerie utilisée
x 3
Vis de abat-jour
H
L
9

Related product manuals