EasyManua.ls Logo

Allen + Roth 0803776 - Page 47

Allen + Roth 0803776
51 pages
Print Icon
To Next Page IconTo Next Page
To Next Page IconTo Next Page
To Previous Page IconTo Previous Page
To Previous Page IconTo Previous Page
Loading...
INSTRUCCIONES DEL ENSAMBLAJE FINAL
47
Lowes.com/allenandroth
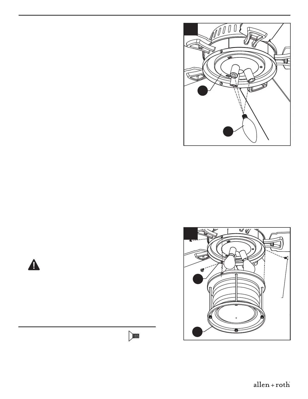
9. Inserte los focos (L) en los portalámparas del kit de
luces (H).
10. Eleve la pantalla (J) al alojamiento del kit de luces
(G) y fíjela con los tornillos de la pantalla.
J
G
10
Tornillo
pantalla
PRECAUCIÓN: Se incluye un limitador de
potencia para ahorro de energía en el receptor. Al
remplazar los focos, asegúrese de que la potencia
del foco sea de menos de 190 vatios; de otra
manera el aparato atenuará las luces a 190 vatios o
se apagará automáticamente.
Aditamentos utilizados
x 3
Tornillo pantalla
H
L
9

Related product manuals