EasyManua.ls Logo

Alpha-InnoTec SWP820 - Circuit Diagram 3;3

Alpha-InnoTec SWP820
68 pages
Print Icon
To Next Page IconTo Next Page
To Next Page IconTo Next Page
To Previous Page IconTo Previous Page
To Previous Page IconTo Previous Page
Loading...
56
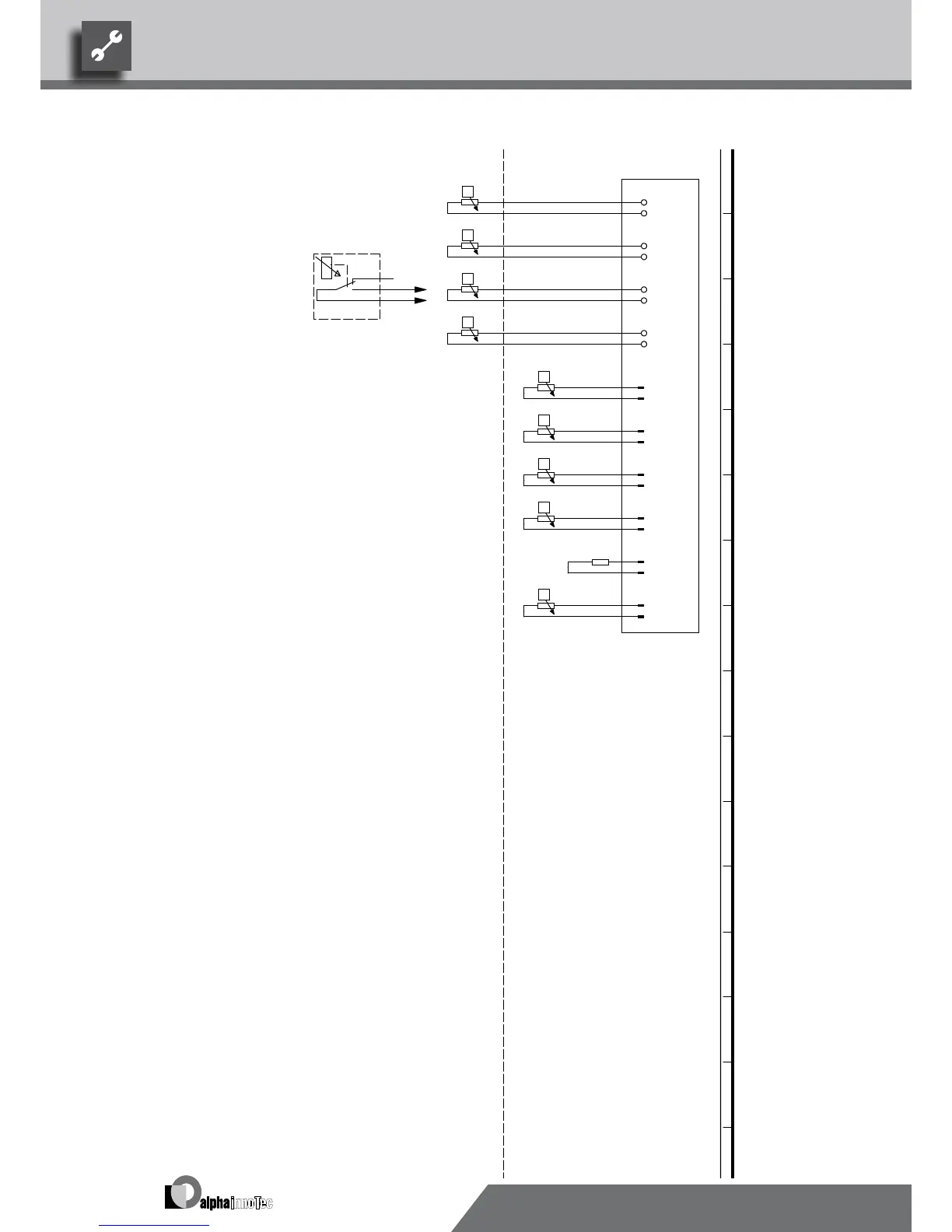
ϑ
RFV
-X4
-R3
RFV
GND
ϑ
TB1
-R4
TB1
GND
TR
ϑ
TBW
-R5
TBW
GND
ϑ
TA.
-R6
TA
GND
ϑ
TRL
-X5
-R7
TRL
GND
ϑ
TVL
-R8
TVL
GND
ϑ
THG
-R9
THG
GND
ϑ
TWA
-R10
TWA
GND
CW.
GND
ϑ
TWE
-R12
TWE
GND
TBW
THG Hot gas sensor
R5
BWT
R11
TWA
Sensor mixing circuit 1
Heat source input sensorTWE
TVL
RFVR3
R8
Accessories: Process water for thermostat
Flow sensor
R7
Accessories: Remote control
R9
Heat source output sensor
Legend:
TA
R12
R4
Operating materials
R10
UK817329
Y4
Controller board; Attention: I-max = 6A/230VAC per contact
R6
-Y4
A1
-A1
TRL
-CW
CW Encoding, heat pump; SWP - 162 Ohm, WWP - 255 Ohm
Domestic hot water sensor
-R11
TB1
External sensor
Return sensor
BWT
Function
SWP 330H-500H 540-820 WWP 700X-1100X
817329
Achim Pfleger 14.08.2008
- ÄM 033/2009
1 2 3 4 5 6 7 8 9 10 11 12 13 14 15 16
1 2 3 4 5 6 7 8 9 10 11 12 13 14 15 16
3/3
3
17.08.2009
10X369; 10X370; 10X371;
Achim Pfleger
10X365; 10X366; 10X367; 10X361; 10X362; 10X363;
Blatt-Nr.
Zustand
Änderung
Bearb.
Datum
Name
Bl von Anz
Datum
We reserve the right to make technical changes.
UK830509/200114 © Alpha-InnoTec GmbH
SWP 540 – SWP 820 · SWP 330H – SWP 500H Circuit Diagram 3/3

Table of Contents

Related product manuals