EasyManua.ls Logo

Alpha EASY-STAT2 - Commissioning

Alpha EASY-STAT2
8 pages
Print Icon
To Next Page IconTo Next Page
To Next Page IconTo Next Page
To Previous Page IconTo Previous Page
To Previous Page IconTo Previous Page
Loading...
3
4. Commissioning
Note: The Receiver and Transmitter have been pre-commissioned at the factory, therefore
the radio link between them has already been established. However, if the Receiver or
Transmitter has been changed then full commissioning will be required as follows:-
a. Turn on electrical supply to boiler and turn boiler selector to
b. Press and hold black button on Receiver until the neon light has flashed twice.
c. Release the button and the neon light will remain illuminated.
d. Slide the front cover upwards to access the transmitter control panel.
e. Press and hold the Mode and Set buttons on the Transmitter at the same time until USE
is displayed. Press OK until RFC is displayed, then press the Increase (+) button to
enable RF signal. ON will be displayed (blinking).
f. When a signal is received from the Transmitter, the Receiver neon will go out. The radio
link between the Transmitter and Receiver is now established.
g. Press the Esc button to return to normal operation.
Note: When in operation and an ‘ON’ signal is received, the Receiver neon will illuminate
continuously. When an ‘OFF’ signal is received the neon will go out.
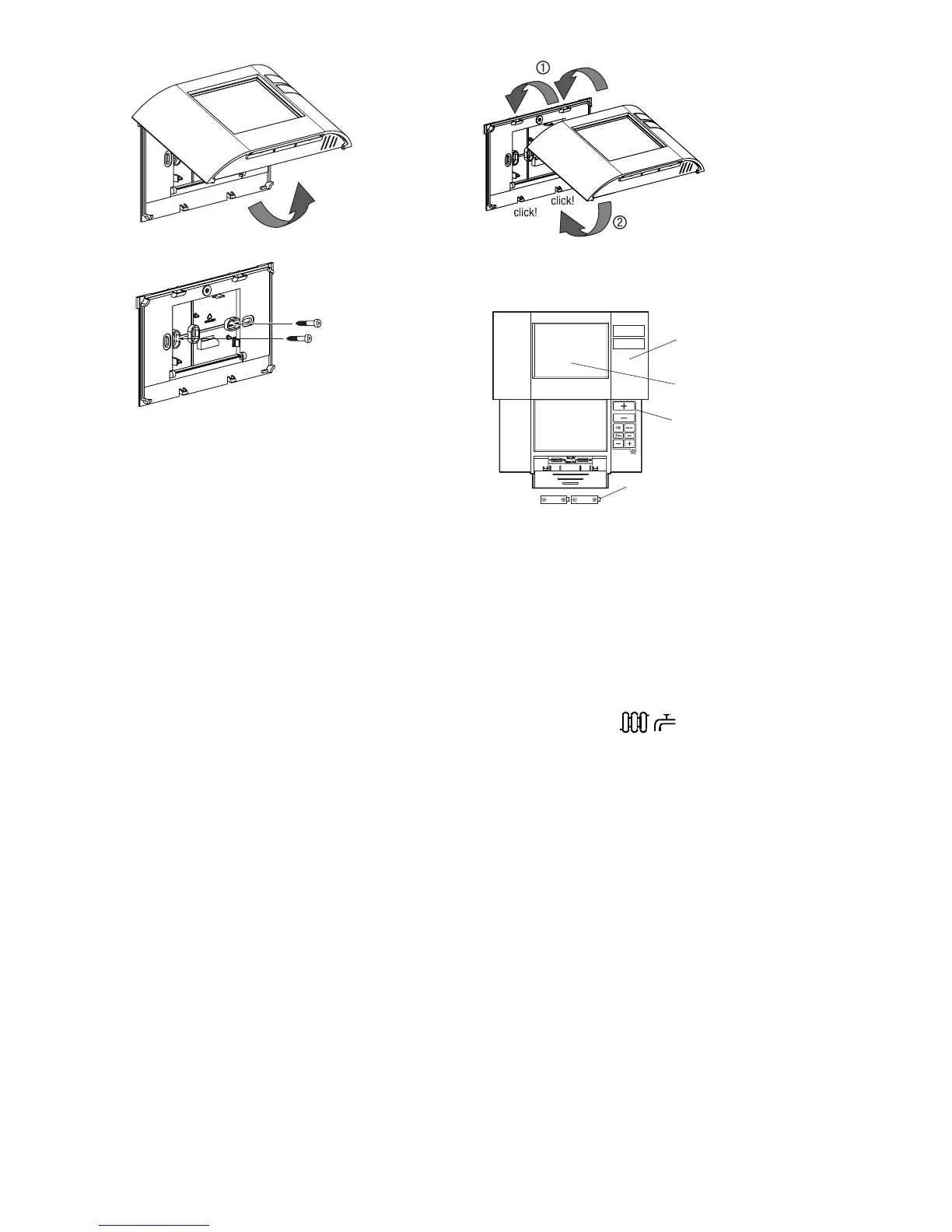
Fig. 4
Ensure the batteries
(2 x 1.5V L26/AA)
are correctly fitted
1. Remove wall
mounting rear panel
from Transmitter
2. Secure rear panel to wall,
Note: There must be a top clearance
of at least 80 mm to allow the front
cover to be raised upwards
4. Slide the front cover up, open the battery
compartment and fit the batteries
3. Re-assemble Transmitter
to rear panel
Front cover
Control panel
Display

Related product manuals