EasyManua.ls Logo

Alpine 7380M - Page 4

Alpine 7380M
32 pages
Print Icon
To Next Page IconTo Next Page
To Next Page IconTo Next Page
To Previous Page IconTo Previous Page
To Previous Page IconTo Previous Page
Loading...
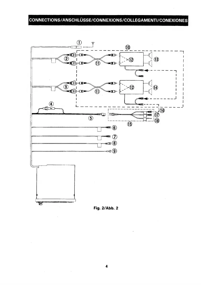
CONNECTIONS/ANSCHLUSSE/CONNEXIONS/COLLEGAMENTI/CONEXIONES
Fig.
2/Abb.
2

Related product manuals