EasyManua.ls Logo

Alpine CDA-9835R - Page 8

Alpine CDA-9835R
85 pages
Print Icon
To Next Page IconTo Next Page
To Next Page IconTo Next Page
To Previous Page IconTo Previous Page
To Previous Page IconTo Previous Page
Loading...
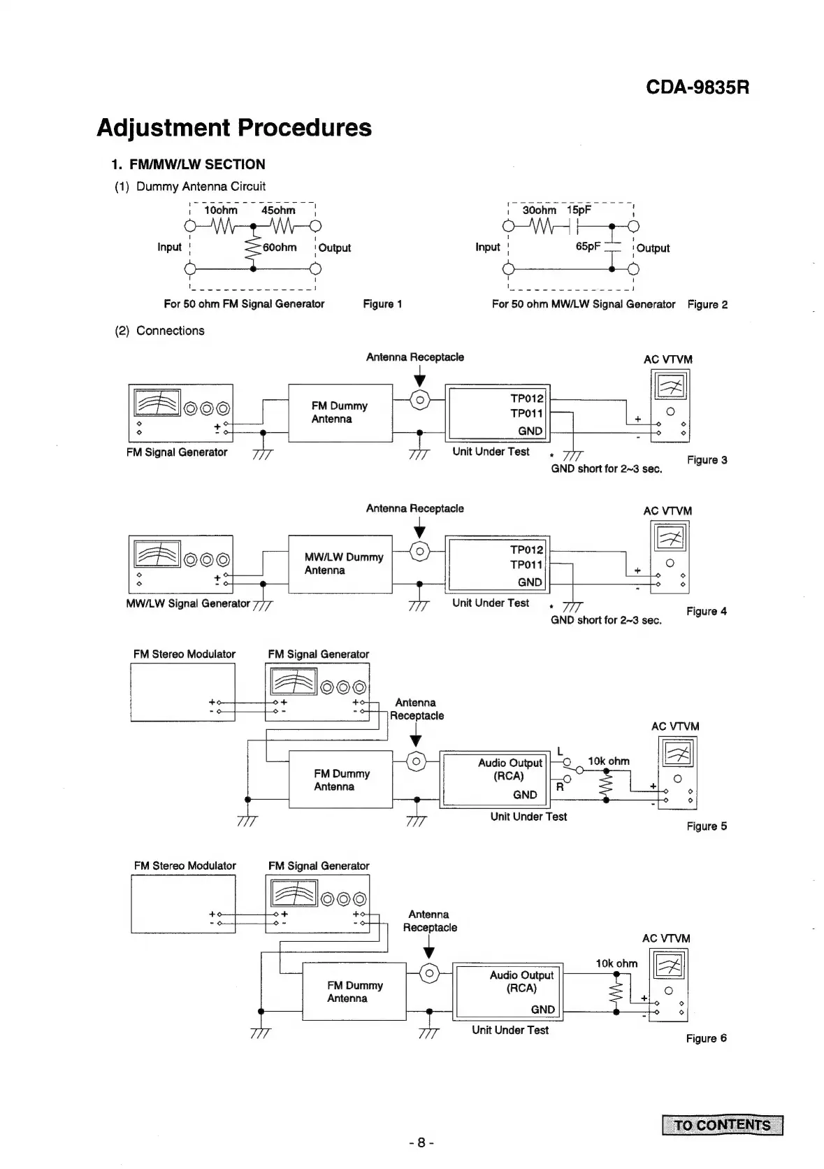
CDA-9835R
Adjustment
Procedures
1.
FM/MW/LW
SECTION
(1)
Dummy
Antenna
Circuit
|
10ohm
=
45ohm
|
80ohm
15pFo
|
| ?
OW
t—4-9
Input
'
600hm
—'
Output
Input
|
65pF
‘Output
:
b
16
I ! I
Ws,
es
a
ote
Sons
oe
eae
fet
tn
ee
1
Ves,
ahs
ie,
Boel
eee
IRS
BE
ye
whe
one
J
For
50
ohm
FM
Signal
Generator
Figure
1
For
50
ohm
MWI/LW
Signal
Generator
Figure
2
(2)
Connections
Antenna
Receptacle
AC
VTVM
FM
Dummy
Antenna
FM
Signal
Generator
Unit
Under
Test
Figure
3
GND
short
for
2~3
sec.
.
Antenna
Receptacle
MW/LW
Dummy
Antenna
MW/LW
Signal
Generator
Unit
Under
Test
,
Figure
4
GND
short
for
2~3
sec.
FM
Stereo
Modulator
FM
Signal
Generator
+
Antenna
i?
Receptacle
AC
VTVM
Audio
Output
|-—-O__.
10k
ohm
4B
(RCA)
L_»
oO
Antenna
+
ntenn
GND
R
°
Unit
Under
Test
Figure
5
FM
Stereo
Modulator
FM
Signal
Generator
+
+
Antenna
>
Receptacle
Audio
Output
FM
Dummy
(RCA)
Antenna
GND
Unit
Under
Test
Figure
6
TO
CONTENTS
|

Other manuals for Alpine CDA-9835R

Related product manuals