EasyManua.ls Logo

Alpine CDE-164BT - SiriusXM Satellite Radio; SiriusXM Channel Reception and Display

Alpine CDE-164BT
61 pages
Print Icon
To Next Page IconTo Next Page
To Next Page IconTo Next Page
To Previous Page IconTo Previous Page
To Previous Page IconTo Previous Page
Loading...
44-EN
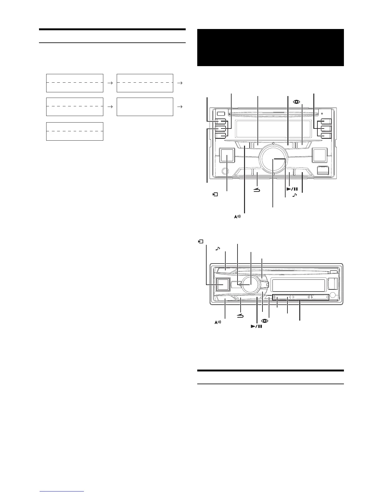
Changing the Display
Press k.
* TAG information
If there is no text information, nothing will be displayed.
Note
Some characters may not be correctly displayed.
CDE-W265BT
CDE-164BT
SiriusXM Tuner operation:
When a SiriusXM Tuner is connected to this unit, the following
operations may be performed.
Receiving Channels with the SiriusXM Tuner
About SiriusXM Satellite Radio
Only SiriusXM brings you more of what you love to listen to, all in one
place. Get over 140 channels, including commercial-free music plus the
best sports, news, talk, comedy and entertainment. Welcome to the
world of satellite radio. A SiriusXM Vehicle Tuner and Subscription are
required. For more information, visit www.siriusxm.com .
Station Name
*
Elapsed Time
Clock
Artist Name
*
Song Title
*
Album Name
*
Song Title
*
Station Name
*
Elapsed Time
SiriusXM
®
Satellite Radio
Operation
/SETUP
/SOURCE
/ENTER
/Tag
/BAND
Rotary encoder
Preset buttons
(4 through 6)
Preset buttons
(1 through 3)
/Tag
/ENTER/OPTION
/SOURCE
/SETUP
/BAND
Rotary encoder
Preset buttons
(1 through 6)

Table of Contents

Related product manuals