EasyManua.ls Logo

Alpine INE-W940E - DVD;Video CD

Alpine INE-W940E
176 pages
Print Icon
To Next Page IconTo Next Page
To Next Page IconTo Next Page
To Previous Page IconTo Previous Page
To Previous Page IconTo Previous Page
Loading...
22-EN
01GB04INE-W940E.fm
ALPINE INE-W940E 68-25285Z52-A (EN)
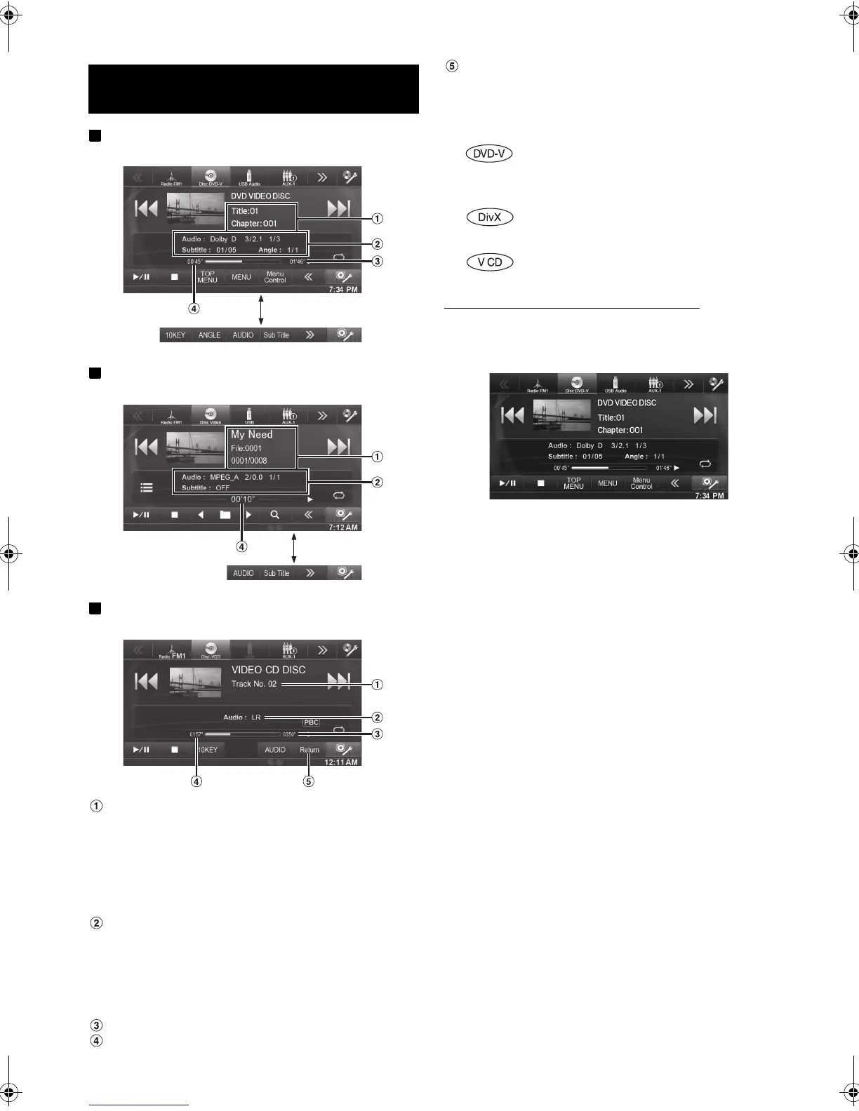
Display example for DVD Video main screen
Display example for DivX
®
main screen
Display example for Video CD main screen
Information display-1
DVD-Video:
Title name/Chapter No.
DivX
®
:
Title name/File No./Current File No./Total File No. in Current
Folder
Video CD:
Tra ck NO.
Information display-2
DVD-Video:
Audio signal output/Subtitle/Angle
DivX
®
:
Audio signal output/Subtitle
Video CD:
Audio Output channel
Remaining time for playing
Elapsed time
[Return]
Returns to the previous screen.
Disc types that can be used for each heading are
represented by the following marks.
The DVD/Video CD operation screen display
Touch the screen while the DVD/Video CD playback
screen is displayed.
The DVD/Video CD operation screen is displayed.
The operation screen changes to the visual screen in the DVD or
Video CD mode for 5 seconds after an operation has been performed.
If you try to activate the DVD/Video CD while driving, the display
will show the warning-Picture off for your safety.
Some operations cannot be carried out depending on the disc or
playback screen.
DVD/Video CD
Touch [<<], [>>]
Touch [<<], [>>]
DVD Commercial Video discs (used for the
distribution of movies, etc.) or a DVD-R/DVD-
RW, DVD+R/DVD+RW recorded in a video
mode can be used.
CD-R/CD-RW/DVD-R/DVD-RW/DVD+R/
DVD+RW discs that are recorded in the
DivX
®
mode can be used.
Video-CD discs can be used.
01GB00INE-W940E.book Page 22 Monday, July 8, 2013 5:14 PM

Table of Contents

Related product manuals