EasyManua.ls Logo

Alpine IVA-D310RB - About Subdisplay Indications; Information

Alpine IVA-D310RB
82 pages
Print Icon
To Next Page IconTo Next Page
To Next Page IconTo Next Page
To Previous Page IconTo Previous Page
To Previous Page IconTo Previous Page
Loading...
58-EN
01GB06IVA310R.fm
ALPINE IVA-D310R 68-02278Z24-A (EN)
About Subdisplay Indications
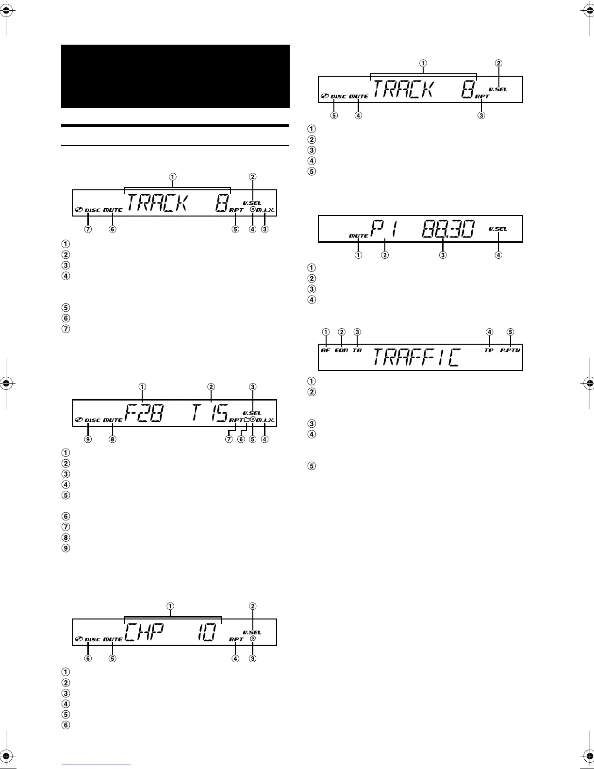
Indication example in the CD mode
Indicates the track number
Lights up when the simultaneous function is on
Lights up when M.I.X. is active
Lights up when M.I.X. ALL/RPT DISC is on
(only when the changer M.I.X. ALL or RPT DISC mode is
on)
Lights up when RPT is active
Lights up when MUTE is on
Lights up when a disc is inserted
After displaying the track number, while playing back a disc
compatible with CD text, the track text is displayed (up to 8 digits).
Indication example in the MP3/WMA mode
Indicates the folder number
Indicates the file number
Lights up when the simultaneous function is on
Lights up when M.I.X. is active
Lights up when RPT DISC is on
(changer mode only)
Lights up when M.I.X. /RPT folder is selected
Lights up when RPT is active
Lights up when MUTE is on
Lights up when a disc is inserted
After displaying the folder or file number, if there is tag information,
the song name is displayed (up to 8 digits).
Indication example in the DVD mode
Indicates the chapter number
Lights up when the simultaneous function is on
Lights up when RPT title is on
Lights up when RPT chapter is active
Lights up when MUTE is on
Lights up when a disc is inserted
Indication example in the Video CD mode
Indicates the track number
Lights up when the simultaneous function is on
Lights up when RPT is active
Lights up when MUTE is on
Lights up when a disc is inserted
When PBC is turned on, “PBC ON” is displayed.
Indication example in the FM radio mode
Lights up when MUTE is on
Indicates preset number for 2 seconds
Indicates the selected frequency
Lights up when the simultaneous function is on
Indication example in the RDS mode
Lights up when AF is received
Lights up when EON is received in Tuner mode.
Lights up when AF/T. INFO is on, and Eon is received in
Other mode.
Lights up when T. INFO is active
Light up when TP is received in Tuner mode.
Light up when T. INFO is on, and TP is received in Other
mode.
Light up when P. PTY is active
Song information, etc., may not be correctly displayed.
The display may differ depending on the connected device(s).
About Subdisplay
Indications
01GB00IVAD310R.book Page 58 Thursday, January 13, 2005 10:40 AM

Table of Contents

Related product manuals