EasyManua.ls Logo

Alpine IVA-W205 - Getting Started; Accessory List; Location of Controls; Turning Power On or Off

Alpine IVA-W205
238 pages
Print Icon
To Next Page IconTo Next Page
To Next Page IconTo Next Page
To Previous Page IconTo Previous Page
To Previous Page IconTo Previous Page
Loading...
10-EN
01GB05IVA-W205.fm
ALPINE IVA-W205 68-08564Z41-A (EN)
Accessory List
Head unit .............................................................................1
Power cable.........................................................................1
Remote cable ......................................................................1
Mounting sleeve ..................................................................1
Bracket key..........................................................................2
Flush Head Screw (M5x8) ...................................................6
Screw (M5×8)......................................................................8
Remote control ....................................................................1
Battery (CR2025).................................................................1
Face plate............................................................................1
Mounting Position Seal ........................................................2
Slot Securing Screw (M2 x 4)* ............................................2
Owner’s Manual.............................................................1 set
* To customers who do not use an optional portable navigation:
If necessary, secure the slot panel with this screw.
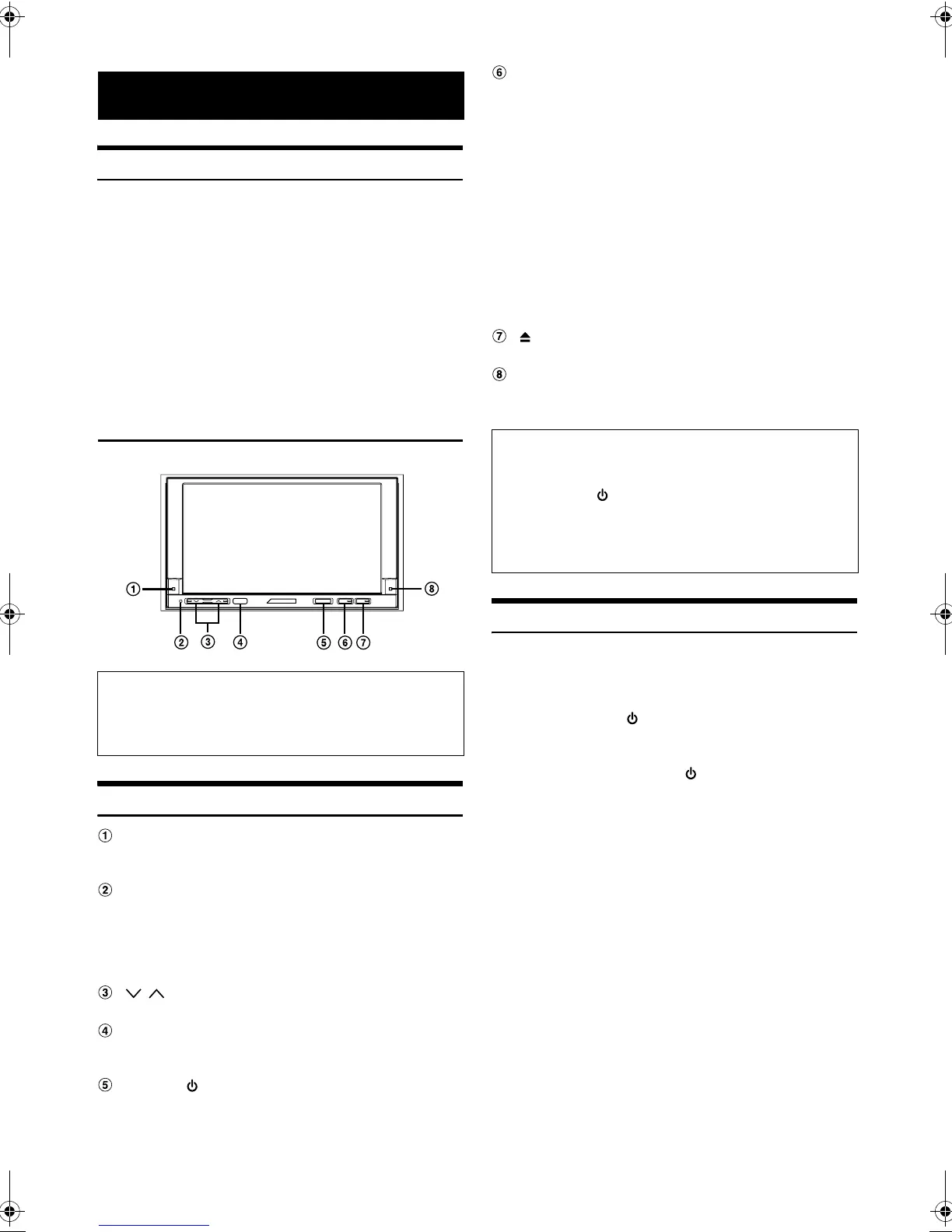
Location of Controls
DOCK indicator
Lights when a portable navigation device is inserted into the
unit.
RESET switch
Be sure to press the RESET switch when using the unit for
the first time, after installing the CD changer, after changing
the car battery, etc.
Turn off the unit power, press RESET with a ballpoint pen or
similar pointed object.
/ button
Press to adjust the volume.
Remote Sensor
Point the supplied remote control transmitter towards the
remote sensor within a range of 2 meters.
SOURCE/ button
Turns the power on. Press and hold for at least 2 seconds to
turn the power off.
Recalls the SOURCE selection screen.
VISUAL / button
Press to recall the VISUAL selection screen.
If VISUAL is set in “Setting the VISUAL Soft Button”
(page 37), momentarily press to recall the VISUAL selection
screen, and if NAV. is set, momentarily press to recall the
navigation screen.
Pressing and holding for at least 2 seconds will recall the
setting which is set in “Setting the VISUAL Button on the
Unit” (page 37).
If “AUDIO SETUP” is set, the AUDIO SETUP screen will be
recalled.
If “SAT” is set, the weather channel or traffic channel will be
recalled (when the XM or SIRIUS Receiver Box is
connected).
If “TEL” is set, the TEL Bluetooth screen will be recalled
(when the optional Bluetooth Box is connected).
button
Recalls the EJECT/TILT screen.
POWER indicator
Blinks when an operation is performed. However, turns off
when Beep is set to OFF.
Turning Power On or Off
Some of this unit’s functions cannot be performed while the vehicle is in
motion. Be sure to stop your vehicle in a safe location and apply the
parking brake, before attempting these operations.
1
Press SOURCE/ to turn on the unit.
The unit can be turned on by pressing any button.
2
Press and hold SOURCE/ for at least 2 seconds to
turn off the unit.
Some operation of the unit cannot be performed while the vehicle is
in motion. In this case, be sure to first stop your vehicle and apply the
parking brake, then perform the operation.
The IVA-W205 is a precision device. With gentle handling, its unique
capabilities can be enjoyed for a long time.
In low ambient temperature conditions, the display may be dim for a
short period of time immediately after the power is turned on. Once
the LCD has warmed up, the display returns to normal.
Getting Started
Connectable to Remote Control Interface Box
You can operate this unit from the vehicle’s control unit when an
Alpine Remote Control Interface Box (optional) is connected. For
details, contact your Alpine dealer.
About the button descriptions used in this Owner’s
Manual
The buttons found on the face of the unit are expressed in bold
(e.g. SOURCE/ ). The buttons found on the touch-screen
display are shown in bold within brackets, [ ] (e.g. [SOURCE]).
This Owner’s Manual explains mainly the function of soft
buttons, when a soft button and a unit button have the same
function.
*
01GB00IVA-W205.book Page 10 Wednesday, January 24, 2007 5:11 PM

Table of Contents