EasyManua.ls Logo

amzchef YL-CD3201 - Page 101

amzchef YL-CD3201
115 pages
Print Icon
To Next Page IconTo Next Page
To Next Page IconTo Next Page
To Previous Page IconTo Previous Page
To Previous Page IconTo Previous Page
Loading...
101
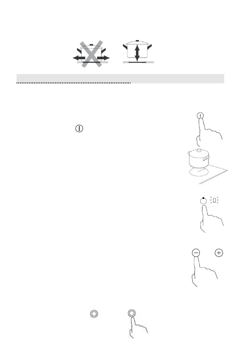
Levante siempre las sartenes de la placa, no las deslice, o podrían dañar el cristal.
Usando su placa de cerámica
Para empezar a cocinar
Antes de encenderse, sonará una vez, todos los indicadores se encenderán por 1
segundo y después se apagarán, indicando que la placa de cerámica ha entrado en el
modo standby.
1. Toque el botón ON/OFFtodos los indicadores mostrarán “-” o
“- -“, Indicando que la placa de cerámica ha entrado en el modo standby.
2. Coloque una sartén adecuada en la zona de cocina que quiera
utilizar.
Asegúrese de que la parte inferior de la sartén y la zona de
cocina están secas y limpias.
3. Tocando el botón de selección de zona de calentamiento un indicador
situadado a su lado parpadeará.
4. Seleccione las opciones de calor con el botón “-” o “+”.
Si no elige ninguna opción en menos de un minuto, la placa de
cerámica se apagará automáticamente en 1 minuto.
Puede modificar las opciones de calor en cualquier momento
durante su uso.
Manteniendo alguno de esos botones apretados , el valor
subirá o bajará.
5. Para el modelo YL-CD3201 cuando la zona 2 está trabajando, activa la zona doble o
zona triple.

Related product manuals