EasyManua.ls Logo

Apelson UBEMF611 - Control Panel Overview; Control Panel Layout and Button Functions

Apelson UBEMF611
36 pages
Print Icon
To Next Page IconTo Next Page
To Next Page IconTo Next Page
To Previous Page IconTo Previous Page
To Previous Page IconTo Previous Page
Loading...
10
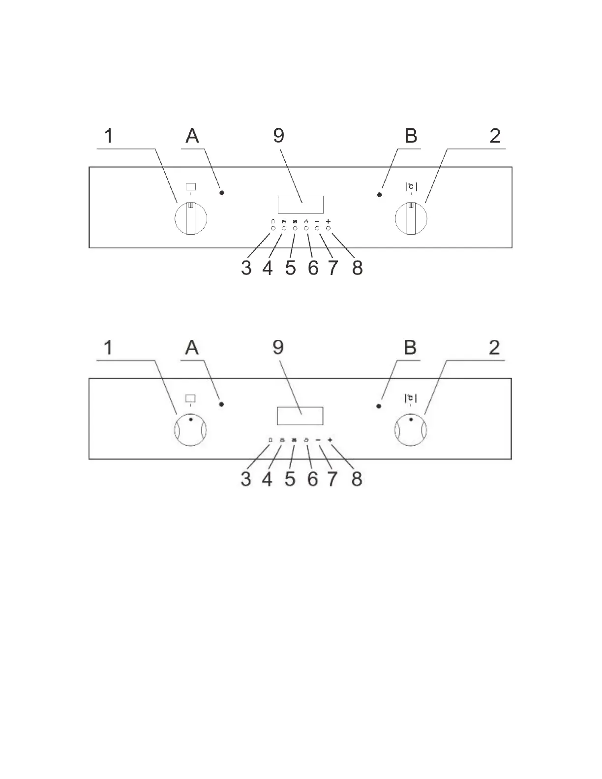
Control Panel
UBEMF610
UBEMF611 UBEMF612
1) Oven function selector knob
2) Thermostat control knob
3) Minute minder button
4) Duration button
5) End cook button
6) Manual operation button
7) Minus button
8) Plus button
9) LED display
A) Power indicator light
B) Oven operating light

Related product manuals