EasyManua.ls Logo

API 2500+ - Page 15

API 2500+
31 pages
Print Icon
To Next Page IconTo Next Page
To Next Page IconTo Next Page
To Previous Page IconTo Previous Page
To Previous Page IconTo Previous Page
Loading...
2500+ Bus Compressor API
15
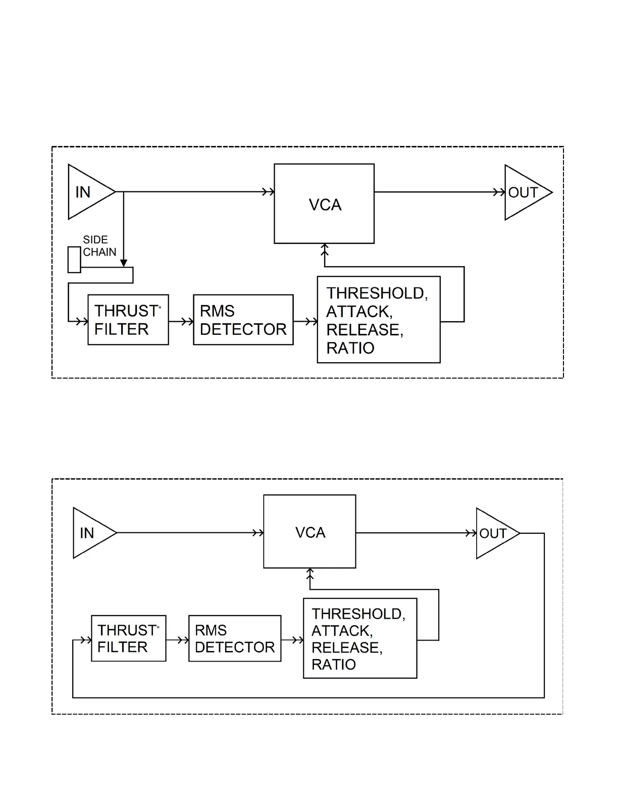
NEW (Feed-Forward)
In a feed-forward compressor, the RMS detector normally gets its signal from a split of the input
signal. (The detector path can alternately get its signal from a SIDE CHAIN input jack.) With this
method, the RMS detector sends a signal to the VCA that is an exact ratio of the desired compression
set by the RATIO control. This is how many new VCA based compressors work. This can yield more
aggressive compression and a harder, more affected sound.
The yellow LED illuminates when engaged
OLD (Feed-back)
In a feed-back compressor, the RMS detector gets its signal from the output of the gain reduction
device (VCA). This is how older API 525, 1176 type, and 660 type compressors work. This yields a
smoother, softer, more transparent sound.
The green LED illuminates when engaged

Related product manuals